Запчасти Komatsu PC200-8M0 ГОЛОВКА ЦИЛИНДРОВ A

Схема запчастей Komatsu PC200-8M0 - ГОЛОВКА ЦИЛИНДРОВ A
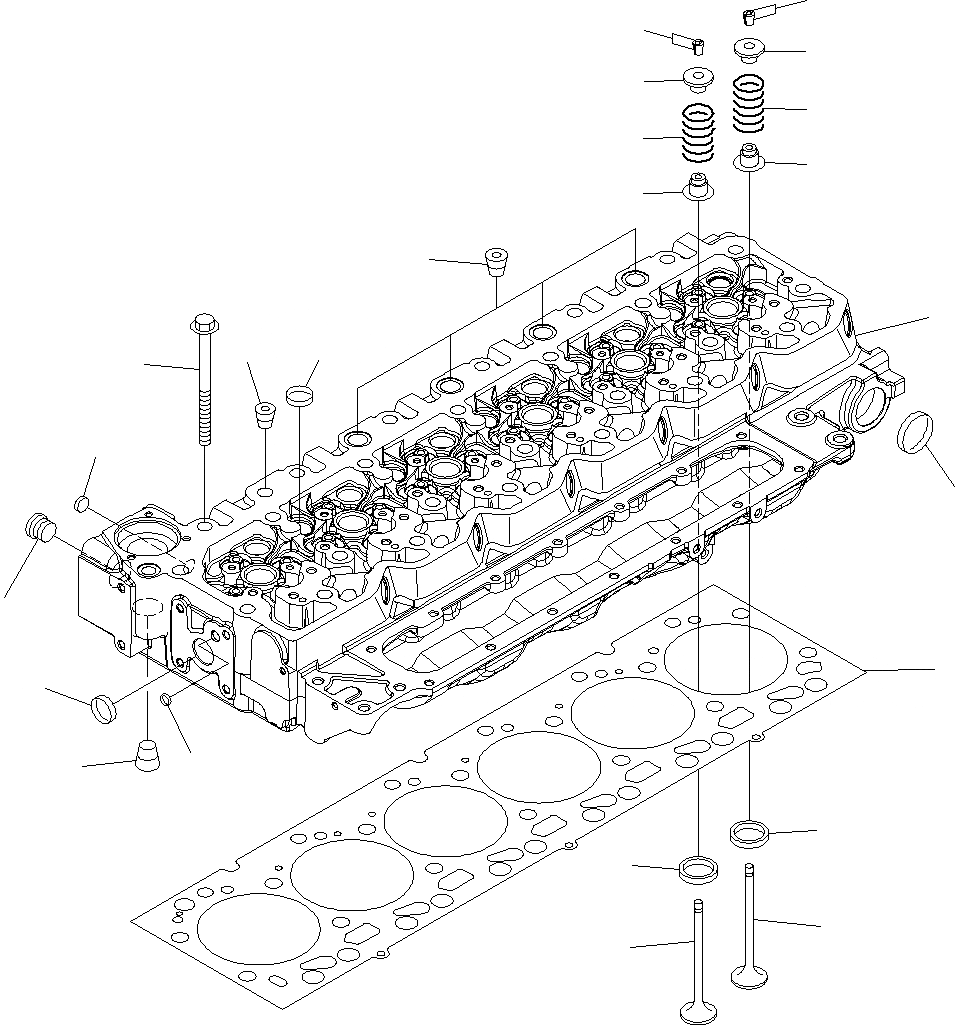
15
18
20
20
19
19
16
13
9
1
11
6
21
8
7
12
22
5
4
10
2
3
14
17
FIT
1:1
100%

Артикул

Название

Примечание

Количество

|$1

6754-11-1211

Cylinder Head Assembly

|$2

Head Assembly

1

Cylinder Head

2

Insert, Intake Valve

3

Insert, Exhaust Valve

4

6754-11-1150

Plug

5

6732-21-1820

Plug

6

6735-21-5531

Plug, Expansion

7

6744-11-1070

Plug

8

6754-11-1160

Plug

9

6732-21-1981

Plug, Pipe

10

6732-11-1920

Plug

11

6732-61-2240

Plug

12

6216-14-6820

Plug Assembly

13

6754-41-4541

Seal

|$16

6754-41-4540

Seal

|$17

6754-41-4100

Valve Kit, Intake

14

Valve

15

6744-11-1020

Collet

16

6754-41-4541

Seal

|$21

6754-41-4540

Seal

|$22

6754-41-4200

Valve Kit, Exhaust

17

Valve

18

6744-11-1020

Collet

19

6754-41-4432

Spring

|$26

6754-41-4431

Spring

|$27

6754-41-4430

Spring

20

6754-41-4510

Retainer

21

6754-11-1610

Bolt

22

6754-11-1811

Gasket

Выбрано товаров: 30