Запчасти Komatsu PC2000-8 КАБИНА, СИДЕНЬЕ СТОЙКА (№9-) КАБИНА, ПРЯМАЯ ЛОПАТА, НИЖН. РАЗГРУЗКА ТИП, С AMBER COLOR WARNING МИГАЛКА, КАБИНА ПЕРЕДН. ПОЛН. ЗАЩИТА, AM-FM РАДИО ДЛЯ АЗИИ, FIRE EXTINGU

Схема запчастей Komatsu PC2000-8 - КАБИНА, СИДЕНЬЕ СТОЙКА (№9-) КАБИНА, ПРЯМАЯ ЛОПАТА, НИЖН. РАЗГРУЗКА ТИП, С AMBER COLOR WARNING МИГАЛКА, КАБИНА ПЕРЕДН. ПОЛН. ЗАЩИТА, AM-FM РАДИО ДЛЯ АЗИИ, FIRE EXTINGU
12
6
10
9
12
8
9
10
16
13
14
7
7
4
5
15
6
11
11
2
3
1
FIT
1:1
100%

Артикул

Название

Примечание

Количество

|$0

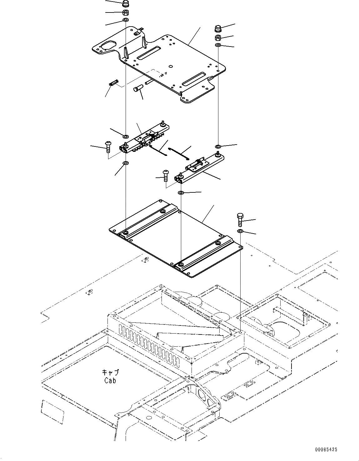
21T-54-00322

Cab Assembly

1

21T-43-31310

Frame

2

01010-D1225

Bolt

3

01643-71232

Washer

4

208-43-71741

Wire

5

208-43-71751

Wire

6

01245-01020

Screw

7

01640-21016

Washer

8

21T-43-31322

Frame

9

20Y-54-65340

Nut

10

01643-71032

Washer

11

01640-21016

Washer

12

20Y-54-65540

Cap

13

20Y-979-6630

Catcher

14

208-43-71731

Wire

15

208-43-71762

Wire

16

22U-43-21390

Cap

Выбрано товаров: 17