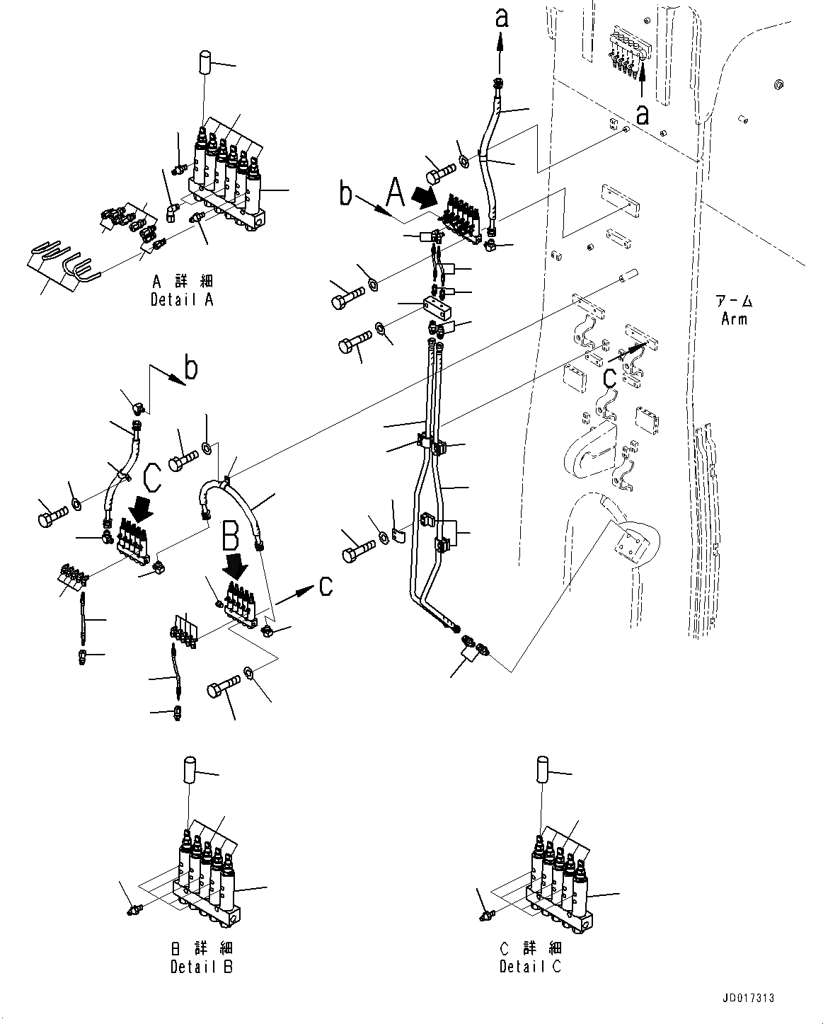
Запчасти Komatsu PC2000-8 РУКОЯТЬ, СМАЗЫВАЮЩ. ЛИНИЯ (/) (№9-) РУКОЯТЬ

Схема запчастей Komatsu PC2000-8 - РУКОЯТЬ, СМАЗЫВАЮЩ. ЛИНИЯ (/) (№9-) РУКОЯТЬ
26
25
1
2
3
4
15
13
14
11
16
17
18
19
20
21
22
23
24
25
26
27
28
52
51
45
6
6
9
8
7
9
15
29
30
31
32
45
43
44
45
46
47
48
49
50
41
51
52
36
11
12
5
10
35
34
39
37
33
38
42
40
FIT
1:1
100%

Артикул

Название

Примечание

Количество

1

07631-20408

Hose, Taper Seal Type

2

04434-52511

Clip

3

01010-81020

Bolt

4

01643-31032

Washer

5

21T-68-32592

Manifold

6

21N-68-32320

Connector

7

21N-68-32360

Tube

8

21N-68-32370

Connector

9

21T-68-32340

Fitting

10

21T-68-32351

Injector

11

561-95-63250

Elbow

12

581-96-19620

Cap

13

01010-81050

Bolt

14

01643-31032

Washer

15

566-01-61190

Elbow

16

21T-68-68570

Hose Assembly

17

561-95-63310

Connector

18

07238-10422

Connector

19

21T-68-31870

Block

20

01010-81260

Bolt

21

01643-31232

Washer

22

21T-68-31710

Tube

23

21T-68-31720

Tube

24

07238-10422

Connector

25

203-973-5660

Clamp

26

203-973-5720

Seat

27

01010-81055

Bolt

28

01643-31032

Washer

29

07631-204A6

Hose, Taper Seal Type

30

04434-52511

Clip

31

01010-81020

Bolt

32

01643-31032

Washer

33

21T-68-32682

Manifold

34

21T-68-32340

Fitting

35

21T-68-32351

Injector

36

561-95-63250

Elbow

37

581-96-19620

Cap

38

21T-68-32831

Manifold

39

21T-68-32340

Fitting

40

21T-68-32351

Injector

41

561-95-63250

Elbow

42

581-96-19620

Cap

43

01010-81050

Bolt

44

01643-31032

Washer

45

566-01-61190

Elbow

46

581-96-19590

Plug

47

07631-20407

Hose, Taper Seal Type

48

04434-52511

Clip

49

01010-81016

Bolt

50

01643-31032

Washer

51

21T-68-32550

Hose Assembly

52

561-95-63310

Connector

Выбрано товаров: 52