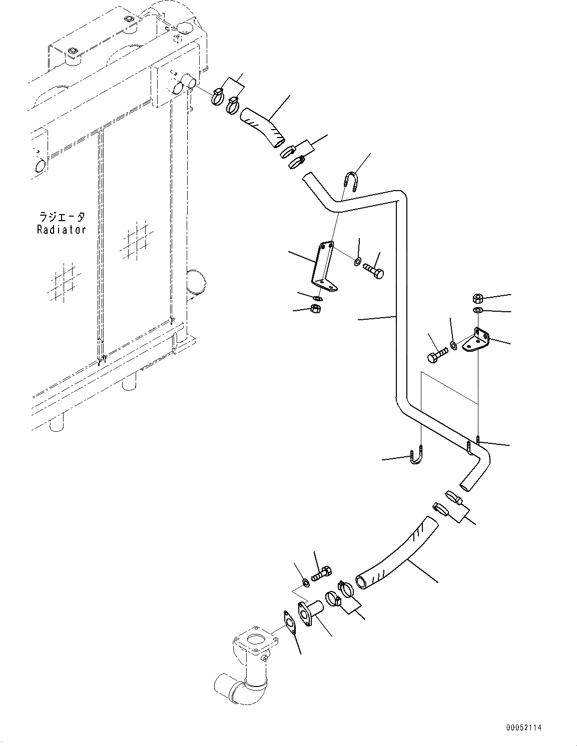
Запчасти Komatsu PC2000-8 СИСТЕМА ОХЛАЖДЕНИЯ, СИСТЕМА ТРУБ РАДИАТОРА (/) (№9-) СИСТЕМА ОХЛАЖДЕНИЯ, БЕЗ SERVICE ЦЕНТР., СМАЗ. ОТСЕКАЮЩ. КЛАПАН

Схема запчастей Komatsu PC2000-8 - СИСТЕМА ОХЛАЖДЕНИЯ, СИСТЕМА ТРУБ РАДИАТОРА (/) (№9-) СИСТЕМА ОХЛАЖДЕНИЯ, БЕЗ SERVICE ЦЕНТР., СМАЗ. ОТСЕКАЮЩ. КЛАПАН
1
18
20
13
4
7
13
2
3
17
16
19
17
2
10
21
11
12
14
15
9
8
6
5
FIT
1:1
100%

Артикул

Название

Примечание

Количество

1

21T-03-32590

Hose

2

07289-00055

Clamp

3

21T-03-32541

Tube

4

21T-03-32511

Plate

5

01010-81235

Bolt

6

01643-31232

Washer

7

07283-34949

Clip

8

01597-01009

Nut

9

01643-31032

Washer

10

21T-03-32521

Plate

11

01010-81225

Bolt

12

01643-31232

Washer

13

07283-34949

Clip

14

01597-01009

Nut

15

01643-31032

Washer

16

07260-04750

Hose

17

07289-00055

Clamp

18

21T-03-32531

Flange

19

07343-24808

Gasket

20

01010-81235

Bolt

21

01643-31232

Washer

Выбрано товаров: 21