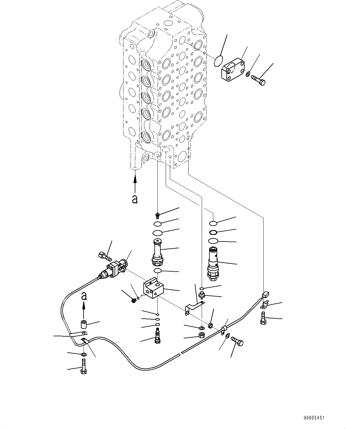
Запчасти Komatsu PC2000-8 УПРАВЛЯЮЩ. КЛАПАН, ВНУТР. ЧАСТИ, ЛЕВ. (8/9) (№9-9) УПРАВЛЯЮЩ. КЛАПАН, ДЛЯ ПОГРУЗ.

Схема запчастей Komatsu PC2000-8 - УПРАВЛЯЮЩ. КЛАПАН, ВНУТР. ЧАСТИ, ЛЕВ. (8/9) (№9-9) УПРАВЛЯЮЩ. КЛАПАН, ДЛЯ ПОГРУЗ.
1
2
3
4
6
7
8
8
9
10
11
12
15
16
17
18
19
23
27
29
30
31
32
35
36
5
13
14
25
26
28
20
37
24
33
34
22
21
FIT
1:1
100%

Артикул

Название

Примечание

Количество

|$0

709-1A-11300

Valve, Control

|$1

709-15-95200

Valve Subassembly

1

709-10-59400

Valve Assembly, Relief

2

708-2L-23960

O-ring

3

700-93-11330

Ring, Back-up

4

07002-63634

O-ring

5

729-13-01110

Sensor Assembly

|$7

709-10-92600

Orifice Assembly

6

709-10-91370

Orifice

7

709-90-91110

Sensor

8

708-2L-23960

O-ring

9

07002-63634

O-ring

10

709-14-12450

Block

11

709-14-12460

Plug

12

07000-B2012

O-ring

13

07000-B2010

O-ring

14

07000-B1007

O-ring

15

708-8E-16160

Plug

16

07002-61023

O-ring

17

709-14-12470

Plug

18

07002-61423

O-ring

19

709-14-12490

Plate

20

01010-81020

Bolt

21

01580-10605

Nut

22

01643-30623

Washer

23

08193-20010

Clip

24

01010-81016

Bolt

25

01252-60835

Bolt, Hexagon Socket Head

26

722-13-11530

Washer

27

709-14-12980

Plate

28

01010-81455

Bolt

29

07000-B3048

O-ring

30

709-14-13830

Clip

31

04434-50610

Clip

32

6112-21-6960

Spacer

33

01010-81050

Bolt

34

01643-31032

Washer

35

709-14-13810

Spacer

36

04434-50610

Clip

37

01643-31032

Washer

Выбрано товаров: 40