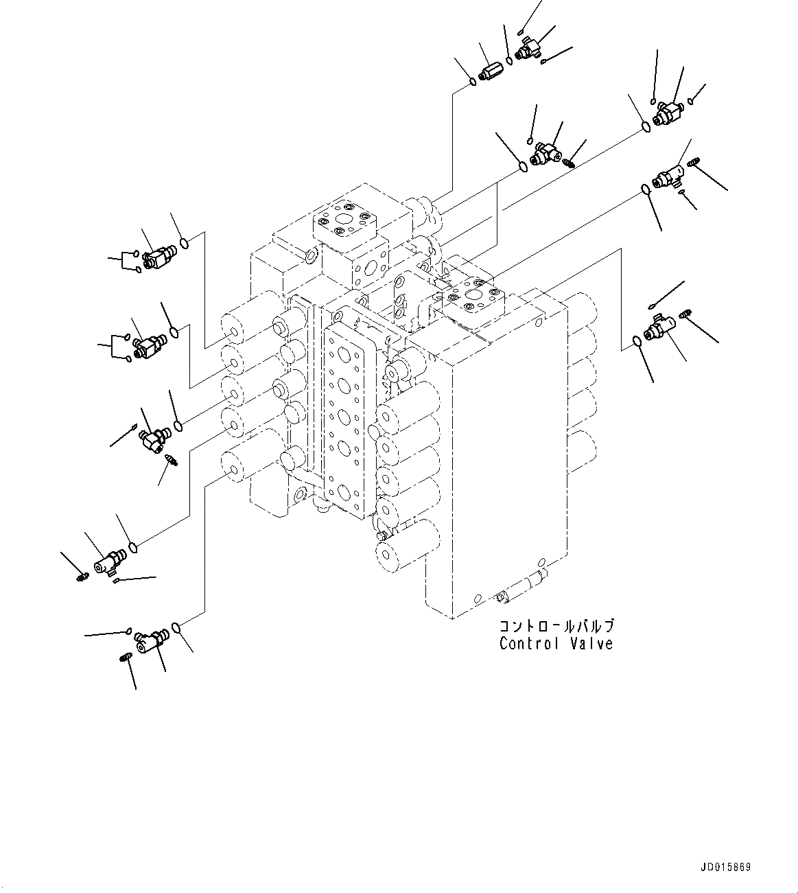
Запчасти Komatsu PC2000-8 УПРАВЛЯЮЩ. КЛАПАН, СОЕДИНИТ. ЧАСТИ, ЛЕВ. (/) (№9-9) УПРАВЛЯЮЩ. КЛАПАН, ДЛЯ ПОГРУЗ.

Схема запчастей Komatsu PC2000-8 - УПРАВЛЯЮЩ. КЛАПАН, СОЕДИНИТ. ЧАСТИ, ЛЕВ. (/) (№9-9) УПРАВЛЯЮЩ. КЛАПАН, ДЛЯ ПОГРУЗ.
25
23
26
16
14
19
19
17
24
18
15
30
29
31
27
28
32
13
7
8
3
2
1
11
9
6
26
5
1
2
3
4
13
13
10
12
20
22
21
26
FIT
1:1
100%

Артикул

Название

Примечание

Количество

1

19M-61-35140

Tee

2

07002-62034

O-ring

3

02896-61009

O-ring

4

21N-62-36980

Elbow

5

07002-62034

O-ring

6

02896-61009

O-ring

7

21T-64-35370

Elbow

8

07002-62034

O-ring

9

02896-61009

O-ring

10

21T-64-36161

Elbow

11

07002-62034

O-ring

12

02896-61009

O-ring

13

20B-27-11210

Bleeder

14

21N-62-36980

Elbow

15

07002-62034

O-ring

16

02896-61009

O-ring

17

19M-61-35140

Tee

18

07002-62034

O-ring

19

02896-61009

O-ring

20

21T-64-35370

Elbow

21

07002-62034

O-ring

22

02896-61009

O-ring

23

21T-64-36161

Elbow

24

07002-62034

O-ring

25

02896-61009

O-ring

26

20B-27-11210

Bleeder

27

20Y-62-22160

Adapter

28

07002-61423

O-ring

29

11Y-62-12820

Tee

30

07002-61423

O-ring

31

02896-61008

O-ring

32

02896-61009

O-ring

Выбрано товаров: 0