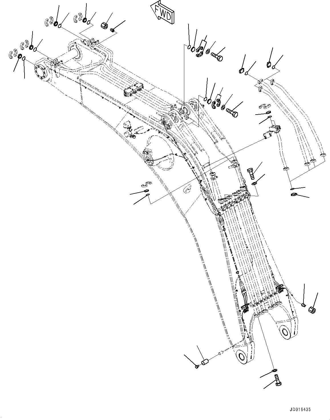
Запчасти Komatsu PC2000-8 СТРЕЛА, ЭЛЕМЕНТЫ (№9-) СТРЕЛА, 87MM, LINCOLN

Схема запчастей Komatsu PC2000-8 - СТРЕЛА, ЭЛЕМЕНТЫ (№9-) СТРЕЛА, 87MM, LINCOLN
12
1
2
13
11
10
3
4
8
9
17
14
7
5
6
15
10
16
17
16
15
14
13
12
11
13
12
10
11
6
5
7
9
8
15
14
18
19
FIT
1:1
100%

Артикул

Название

Примечание

Количество

1

01010-81835

Bolt

2

01643-31845

Washer

3

01010-81835

Bolt

4

01643-31845

Washer

5

07378-12010

Head

6

07000-B2060

O-ring

7

07371-52080

Flange, Split

8

01010-81865

Bolt

9

01643-31845

Washer

10

07378-11410

Head

11

07000-B3048

O-ring

12

07378-12010

Head

13

07000-B2060

O-ring

14

07379-02080

Flange

15

07000-B2060

O-ring

16

07222-00414

Plug, Taper Seal

17

07221-20422

Nut, Sleeve

18

08192-14100

Connector Body

19

08191-00770

Plug, Connector

Выбрано товаров: 19