Запчасти Komatsu PC200CA-6 ГИДР. БАК. (БЕЗ ДАТЧИКА) (СПЕЦ-Я ДЛЯ РАЗРУШ. ЗДАНИЙ)(№C-) ГИДРАВЛИКА

Схема запчастей Komatsu PC200CA-6 - ГИДР. БАК. (БЕЗ ДАТЧИКА) (СПЕЦ-Я ДЛЯ РАЗРУШ. ЗДАНИЙ)(№C-) ГИДРАВЛИКА
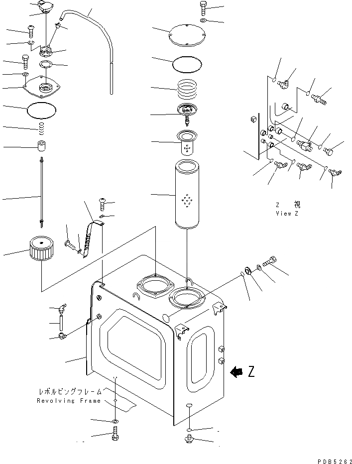
1
2
2
3
4
5
6
7
8
9
10
11
12
13
14
14
15
15
16
17
18
19
20
21
22
23
24
25
26
27
28
29
30
31
32
33
34
35
36
37
38
39
40
41
42
43
44
45
46
47
47
48
48
49
50
FIT
1:1
100%

Артикул

Название

Примечание

Количество

1

TANK

2

208-04-19130

ELBOW

3

203-60-31160

TUBE

4

07044-12412

PLUG

5

07002-02434

O-RING

6

209-62-57430

TEE

7

07002-02434

O-RING

8

07236-10522

ELBOW

9

07002-02434

O-RING

10

07235-10315

ELBOW

11

07002-02034

O-RING

12

07236-10315

ELBOW

13

07002-02034

O-RING

14

07236-10210

ELBOW

15

07002-01423

O-RING

16

07040-12012

PLUG

17

07002-02034

O-RING

18

20Y-60-21510

ELEMENT

19

206-60-41221

STRAINER

20

12R-60-11300

VALVE ASS'Y

21

20Y-60-21240

SPRING

22

20Y-60-22530

COVER

23

07000-05180

O-RING

24

01010-51230

BOLT

25

01643-31232

WASHER

26

20Y-60-11650

PLUG

27

7861-91-4220

O-RING

28

01010-80612

BOLT

29

01641-20608

WASHER

30

20Y-60-22550

STRAINER ASS'Y

30

20Y-60-21311

STRAINER

31

207-60-61150

ROD ASS'Y

32

20Y-60-21320

HOLDER

33

12R-60-11230

SPRING

34

203-60-61140

COVER

35

07000-05180

O-RING

36

01010-81225

BOLT

37

01643-31232

WASHER

38

17A-60-11310

CAP ASS'Y

39

20Y-60-21470

ELEMENT

40

20Y-60-21460

NECK

41

205-60-66211

GASKET

42

01220-40516

SCREW

43

01601-20513

WASHER

44

07285-00155

CLIP

45

07270-61512

TUBE

46

20Y-60-22561

COVER

47

01220-40412

SCREW

48

20Y-60-22540

PLATE

49

01010-81635

BOLT

50

01643-31645

WASHER

Выбрано товаров: 0