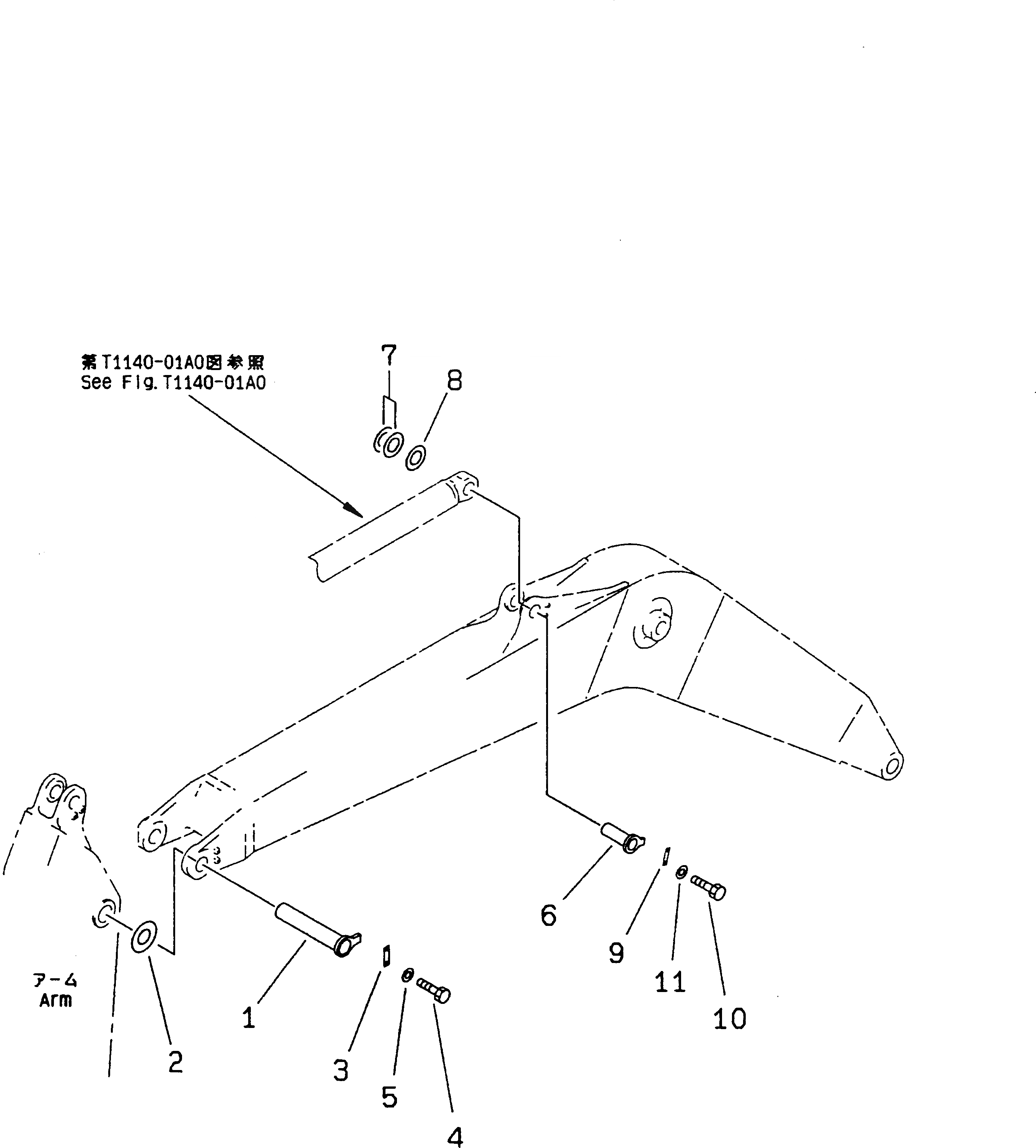
Запчасти Komatsu PC200CA-6 СТРЕЛА (ВЕРХН. ПАЛЕЦ И НИЖН. ПАЛЕЦ)(№C-) РАБОЧЕЕ ОБОРУДОВАНИЕ
FIT
1:1
100%
№
Артикул
Название
Примечание
Количество
1
205-70-65680
PIN
2
20Y-70-11360
SPACER¤ 0.8MM
3
205-70-71310
PLATE
4
01010-51235
BOLT
5
01643-31232
WASHER
6
20Y-70-11180
PIN
7
20Y-70-11340
SPACER¤ 0.8MM
8
205-70-51530
SPACER¤ 1.5MM
9
205-70-66580
PLATE
10
01010-51235
BOLT
11
01643-31232
WASHER
Выбрано товаров: 11