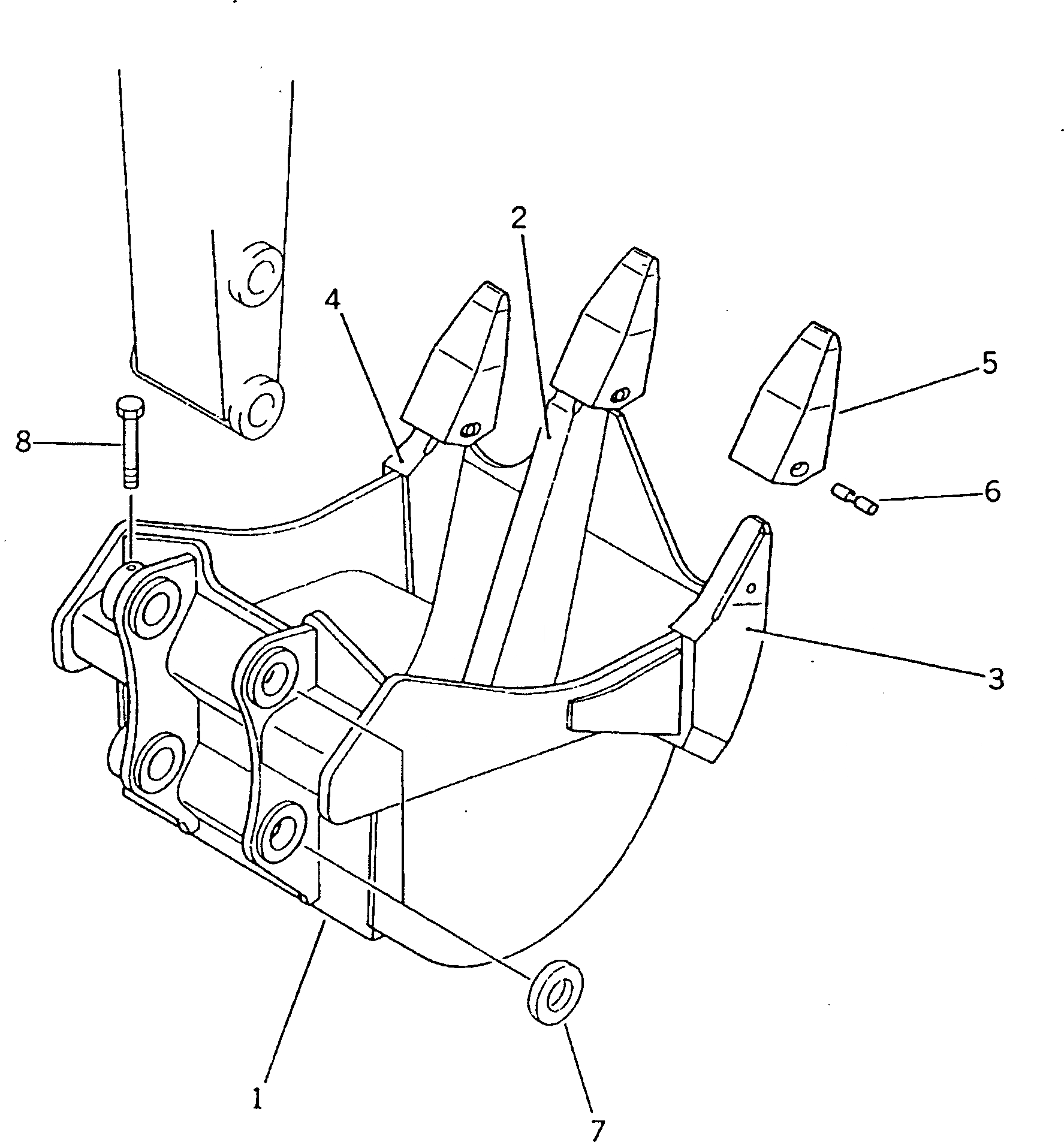
Запчасти Komatsu PC200CA-6 КОВШ¤ .8M (CECE .7M)¤ MM (ГОРИЗОНТАЛЬН. ПАЛЕЦ) (С РЕГУЛИРОВКОЙ)(№C-) РАБОЧЕЕ ОБОРУДОВАНИЕ

Схема запчастей Komatsu PC200CA-6 - КОВШ¤ .8M (CECE .7M)¤ MM (ГОРИЗОНТАЛЬН. ПАЛЕЦ)     (С РЕГУЛИРОВКОЙ)(№C-) РАБОЧЕЕ ОБОРУДОВАНИЕ
FIT
1:1
100%

Артикул

Название

Примечание

Количество

1

205-922-6210

BUCKET

2

205-922-1120

SHANK (WELDED)

3

205-922-1130

ADAPTER,L.H. (WELDED)

4

205-922-1140

ADAPTER,R.H. (WELDED)

5

175-78-31230

POINT

6

09244-02508

PIN

7

205-70-74410

COLLAR

8

205-70-73190

BOLT

Выбрано товаров: 8