Запчасти Komatsu PC200CA-6 ТРЕХЗУБЫЙ РЫХЛИТЕЛЬ(№C-) РАБОЧЕЕ ОБОРУДОВАНИЕ

Схема запчастей Komatsu PC200CA-6 - ТРЕХЗУБЫЙ РЫХЛИТЕЛЬ(№C-) РАБОЧЕЕ ОБОРУДОВАНИЕ
FIT
1:1
100%

Артикул

Название

Примечание

Количество

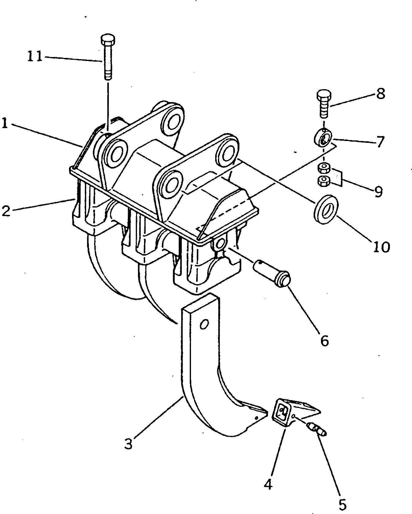
1

205-951-0013

RIPPER ASS'Y

1

BRACKET

2

205-951-6120

HOLDER

3

205-951-0020

SHANK ASS'Y

3

SHANK

4

131-78-31190

POINT

5

09244-02489

PIN

6

205-951-6140

PIN

7

205-951-6150

COLLAR

8

01019-11205

BOLT

9

01580-11210

NUT

10

205-70-74410

COLLAR

11

205-70-73190

BOLT

Выбрано товаров: 13