Запчасти Komatsu PC200EN-6K ЗАЩИТА ВЕНТИЛЯТОРА (С КОНДИЦИОНЕРОМ)(№K-) СИСТЕМА ОХЛАЖДЕНИЯ

Схема запчастей Komatsu PC200EN-6K - ЗАЩИТА ВЕНТИЛЯТОРА (С КОНДИЦИОНЕРОМ)(№K-) СИСТЕМА ОХЛАЖДЕНИЯ
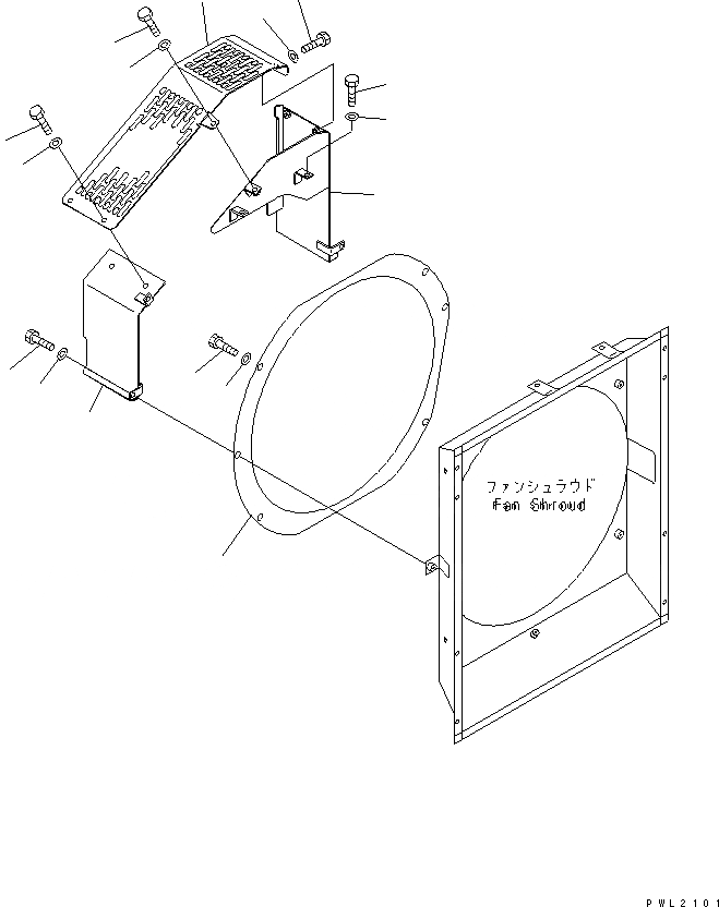
1
2
3
4
5
6
7
8
8
8
9
9
9
10
11
12
FIT
1:1
100%

Артикул

Название

Примечание

Количество

1

20Y-03-21653

COVER

2

01010-81025

BOLT

3

01643-31032

WASHER

4

20Y-03-27160

COVER

5

01010-81025

BOLT

6

01643-31032

WASHER

7

20Y-03-K1310

GUARD

8

01010-81025

BOLT

9

01643-31032

WASHER

10

20Y-03-21990

PLATE

11

01010-81020

BOLT

12

01643-31032

WASHER

Выбрано товаров: 12