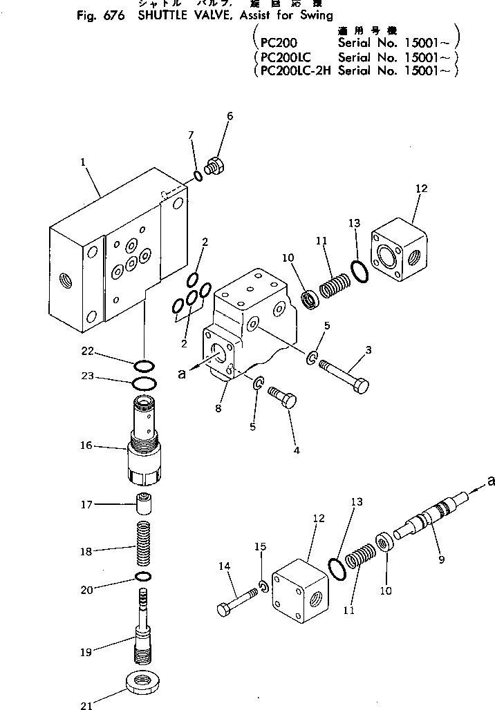
Запчасти Komatsu PC200LC-2 РАСПРЕДЕЛИТ. КЛАПАН (ASSIST ДЛЯ ПОВОРОТН.) УПРАВЛ-Е РАБОЧИМ ОБОРУДОВАНИЕМ

Схема запчастей Komatsu PC200LC-2 - РАСПРЕДЕЛИТ. КЛАПАН (ASSIST ДЛЯ ПОВОРОТН.) УПРАВЛ-Е РАБОЧИМ ОБОРУДОВАНИЕМ
FIT
1:1
100%

Артикул

Название

Примечание

Количество

|$0

702-15-29000

VALVE ASS'Y

1

702-15-29151

BLOCK

2

07000-12010

O-RING

3

01010-50850

BOLT

4

01010-50825

BOLT

5

01602-20825

WASHER

6

07040-10807

PLUG

7

07002-10823

O-RING

|$8

702-15-29100

SHUTTLE VALVE A.

8

BODY

9

SPOOL

10

702-15-29130

RING

11

706-75-77150

SPRING

12

702-15-29140

COVER

13

07000-12021

O-RING

14

01010-60640

BOLT

15

01602-20619

WASHER

|$17

700-22-61000

RELIEF VALVE A.

16

SLEEVE

17

POPPET

18

SPRING

19

PISTON

20

O-RING

21

NUT

22

O-RING

23

O-RING

Выбрано товаров: 0