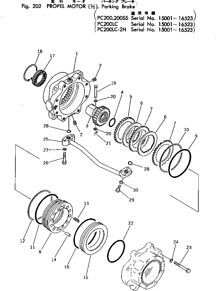
Запчасти Komatsu PC200LC-2 МОТОР ХОДА (/)(№-) ХОД И КОНЕЧНАЯ ПЕРЕДАЧА

Схема запчастей Komatsu PC200LC-2 - МОТОР ХОДА (/)(№-) ХОД И КОНЕЧНАЯ ПЕРЕДАЧА
FIT
1:1
100%

Артикул

Название

Примечание

Количество

|$0

706-75-36901

PROPEL MOTOR ASS'Y

|$1

706-75-93000

PARKING BRAKE ASS'Y

1

706-75-91210

HOUSING

2

706-73-40340

PLUG

3

706-75-90060

COUPLING

4

07000-03035

O-RING

5

706-75-90030

PLATE

6

706-75-90050

DISK

7

706-75-91040

PLATE

8

706-75-91081

PISTON

9

07000-15135

O-RING

10

706-75-91130

RING

11

07000-15155

O-RING

12

706-75-91110

RING

13

706-75-91150

SPRING

14

04020-00820

PIN

15

706-75-91141

SEAT

16

706-75-90120

O-RING

17

706-75-90180

SEAL

18

04065-08225

RING

19

706-75-90160

PIN

20

01641-00608

WASHER

21

04050-01610

PIN

22

07000-02105

O-RING

23

01010-61445

BOLT

24

01602-01442

WASHER

25

706-75-79210

TUBE

26

01010-51045

BOLT

27

01602-21030

WASHER

28

07000-12016

O-RING

29

01010-50840

BOLT

30

01602-20825

WASHER

Выбрано товаров: 32