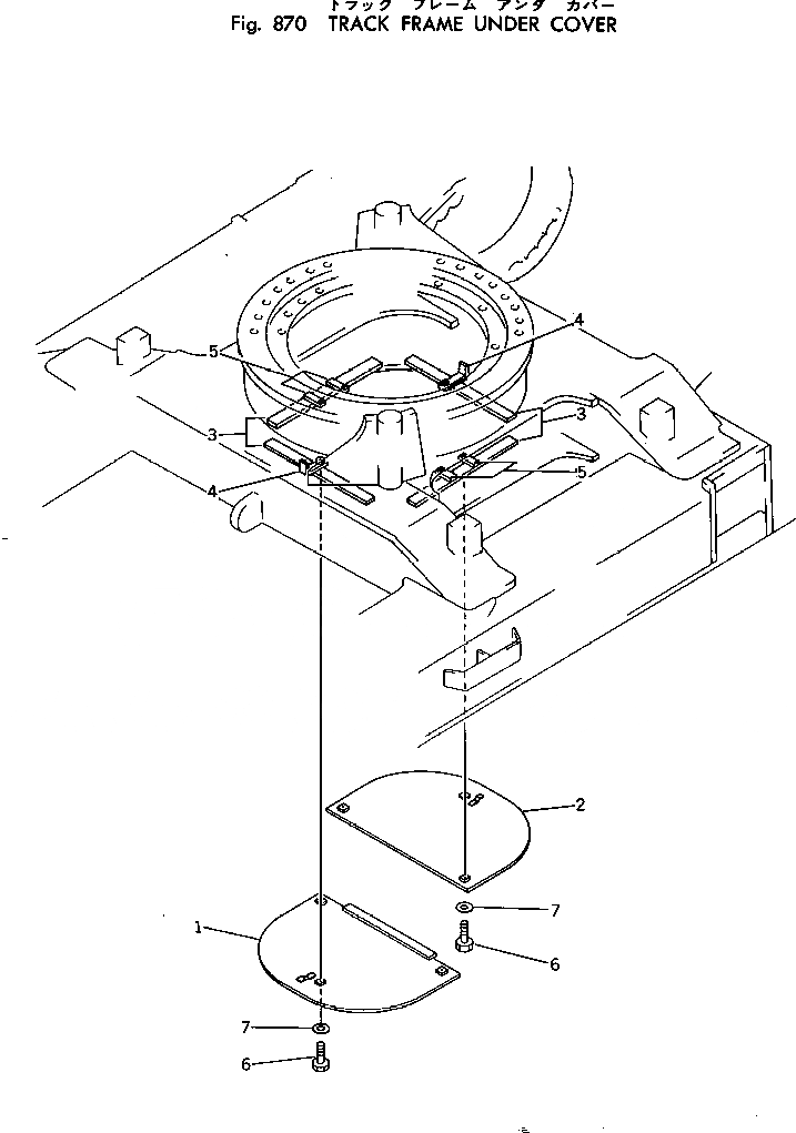
Запчасти Komatsu PC200LC-2 ГУСЕНИЧНАЯ РАМА НИЖН. КРЫШКА ОПЦИОННЫЕ КОМПОНЕНТЫ

Схема запчастей Komatsu PC200LC-2 - ГУСЕНИЧНАЯ РАМА НИЖН. КРЫШКА ОПЦИОННЫЕ КОМПОНЕНТЫ
FIT
1:1
100%

Артикул

Название

Примечание

Количество

1

205-30-61970

COVER

2

205-30-61980

COVER

3

205-30-62730

BRACKET (WELDED)

4

205-30-62740

BRACKET (WELDED)

5

01573-12308

SEAT (WELDED)

6

01010-51240

BOLT

7

01643-31232

WASHER

Выбрано товаров: 7