Запчасти Komatsu PC200LC-2 CAR ЛИНИЯ ОХЛАЖДЕНИЯ (/) ОПЦИОННЫЕ КОМПОНЕНТЫ

Схема запчастей Komatsu PC200LC-2 - CAR ЛИНИЯ ОХЛАЖДЕНИЯ (/) ОПЦИОННЫЕ КОМПОНЕНТЫ
FIT
1:1
100%

Артикул

Название

Примечание

Количество

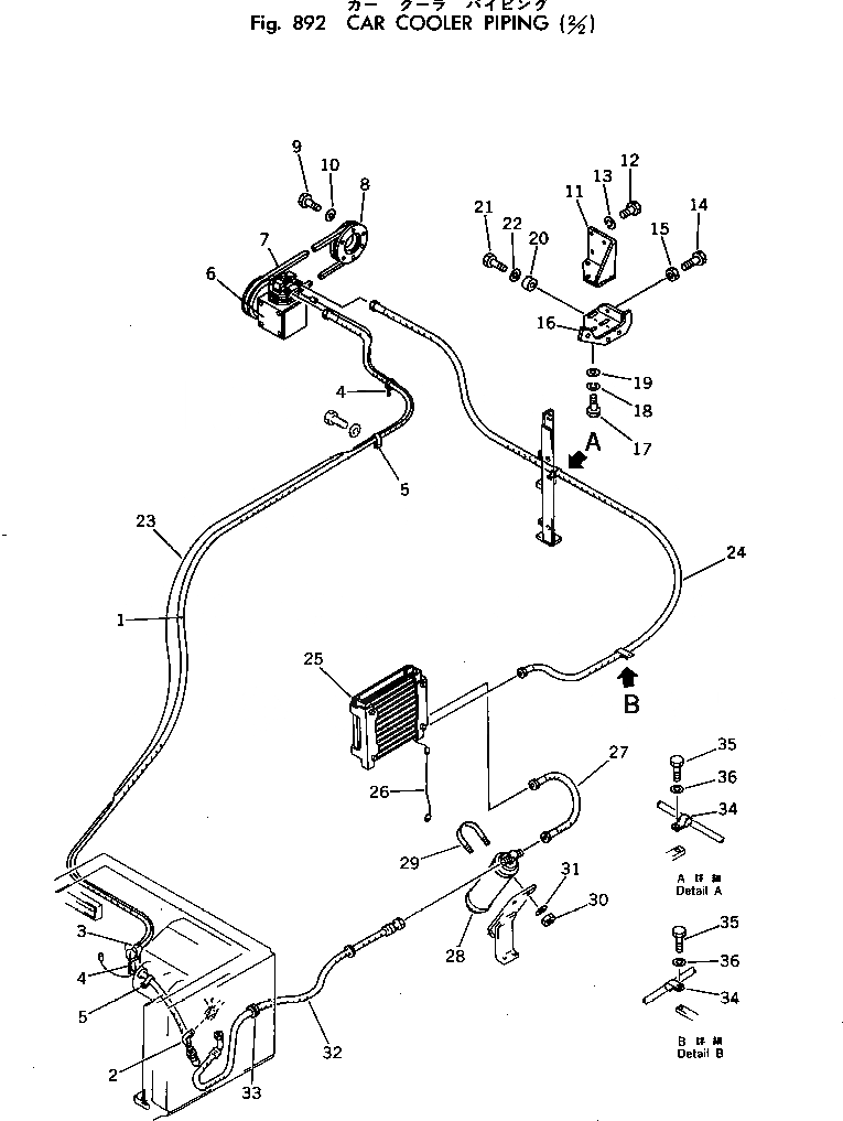
1

205-978-6560

HOSE

2

205-981-5250

ELBOW

3

203-977-3110

COVER

4

08034-00536

BAND

5

19M-979-2430

CLAMP

6

205-981-5130

COMPRESSOR ASS'Y

7

04120-21742

V-BELT

8

205-978-6190

PULLEY

9

01010-51260

BOLT

10

01643-31232

WASHER

11

205-978-6121

BRACKET

12

01010-50825

BOLT

13

01643-30823

WASHER

13

01602-20825

WASHER

14

01016-51060

BOLT

15

01580-11008

NUT

16

205-978-6620

BRACKET

17

01010-51030

BOLT

18

01602-21030

WASHER

19

01643-31032

WASHER

20

195-33-11220

SPACER

21

01010-51255

BOLT

22

01643-31232

WASHER

23

205-981-5410

WIRE ASS'Y

24

09488-00623

HOSE

25

205-981-5120

CONDENSER UNIT

26

205-978-6580

WIRE ASS'Y

27

09488-10505

HOSE

28

566-07-11240

RECEIVER

29

07283-26155

CLIP

30

01599-01011

NUT

31

01643-31032

WASHER

32

09488-20511

HOSE

33

08037-02512

GROMMET

34

08035-02510

CLIP

34

19M-979-2430

CLAMP

35

01010-50816

BOLT

36

01643-30823

WASHER

Выбрано товаров: 0