/ / / / / / СОЕДИНИТЕЛЬН. ЗВЕНО (ДЛЯ FEET УДЛИНН. РУКОЯТЬ И СТРЕЛА)
Запчасти Komatsu PC200LC-2 СОЕДИНИТЕЛЬН. ЗВЕНО (ДЛЯ FEET УДЛИНН. РУКОЯТЬ И СТРЕЛА) ОПЦИОННЫЕ КОМПОНЕНТЫ (СПЕЦ. APPLICATION ЧАСТИ)
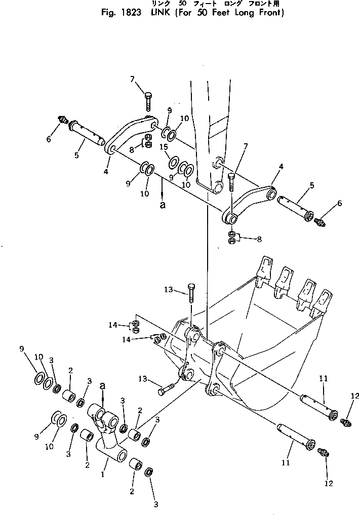
|$0
203-70-00032
LINK ASS'Y
1
LINK
2
203-70-33150
BUSHING
3
203-70-33210
SEAL
4
203-70-21310
LINK
5
202-70-11550
PIN
6
07020-00000
FITTING
7
01019-01620
BOLT
8
01580-01613
NUT
9
203-70-24150
SPACER, 1.0MM
10
203-70-24160
SPACER, 2.0MM
11
202-70-11550
PIN
12
07020-00000
FITTING
13
01011-31640
BOLT
14
01580-01613
NUT
15
203-70-34260
SPACER, 0.5MM
Выбрано товаров: 0