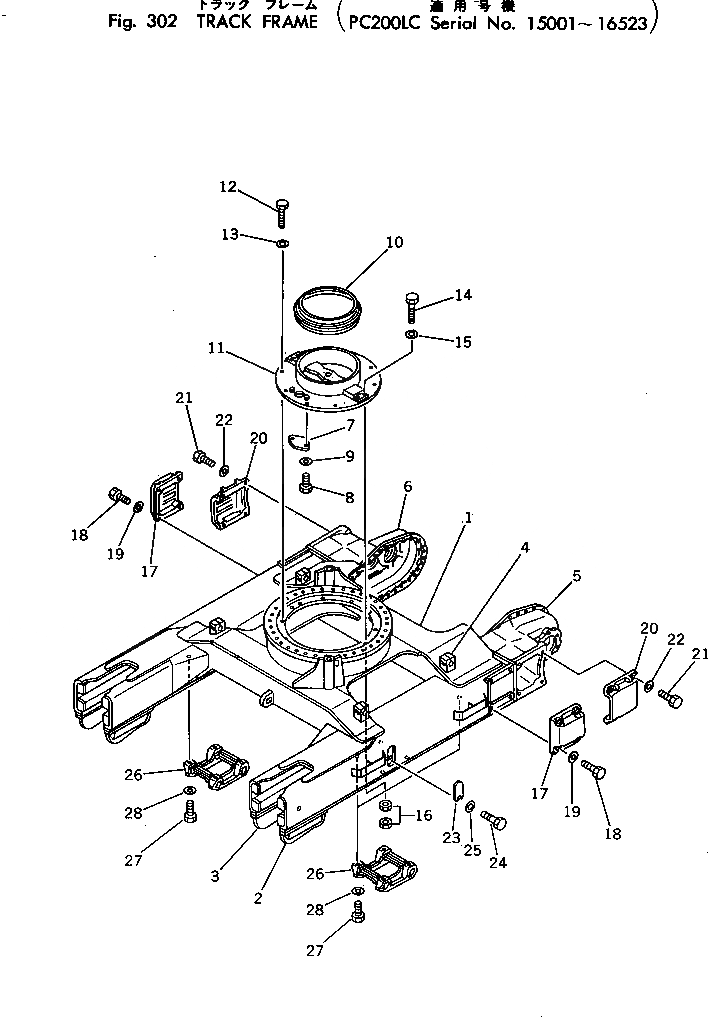
Запчасти Komatsu PC200LC-2 ГУСЕНИЧНАЯ РАМА (PCLC)(№-) ХОДОВАЯ

Схема запчастей Komatsu PC200LC-2 - ГУСЕНИЧНАЯ РАМА (PCLC)(№-) ХОДОВАЯ
FIT
1:1
100%

Артикул

Название

Примечание

Количество

1

205-30-62711

FRAME

2

205-30-62540

GUARD (WELDED)

3

205-30-62550

GUARD (WELDED)

4

205-30-61950

SUPPORT (WELDED)

5

205-30-61930

CASE,L.H. (WELDED)

6

205-30-61940

CASE,R.H. (WELDED)

7

205-30-67650

COVER

8

01010-51225

BOLT

9

01643-31232

WASHER

10

01643-31232

WASHER

11

206-30-43150

COVER

11

205-30-67582

COVER

12

01016-51250

BOLT

13

01643-31232

WASHER

14

01016-51250

BOLT

15

01643-31232

WASHER

16

01580-11210

NUT

17

205-30-61821

COVER

18

01010-51650

BOLT

19

01643-31645

WASHER

20

205-30-61831

COVER,L.H.

20

205-30-61840

COVER,R.H.

21

01010-51650

BOLT

22

01643-31645

WASHER

23

205-30-67622

COVER

24

01010-51225

BOLT

25

01643-31232

WASHER

26

205-30-62531

GUARD

27

01010-52045

BOLT

28

01643-32060

WASHER

Выбрано товаров: 30