Запчасти Komatsu PC200LC-2 MACHINERY ОБСТАНОВКА (/) ОСНОВНАЯ РАМА И КАБИНА

Схема запчастей Komatsu PC200LC-2 - MACHINERY ОБСТАНОВКА (/) ОСНОВНАЯ РАМА И КАБИНА
FIT
1:1
100%

Артикул

Название

Примечание

Количество

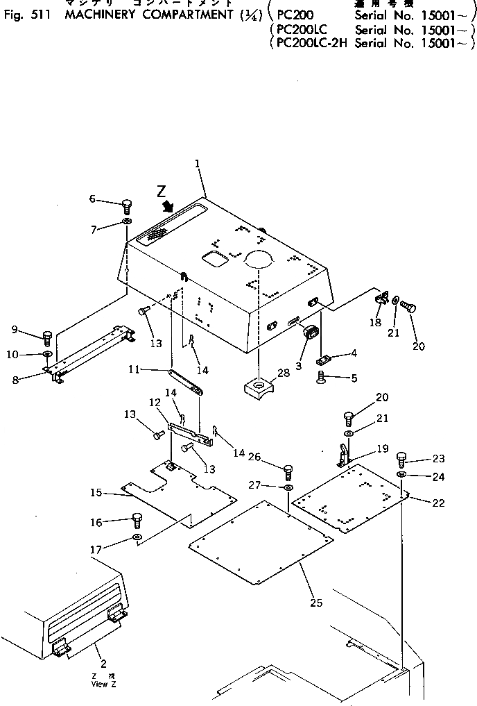
1

205-54-65422

HOOD

2

205-54-65630

HINGE (WELDED)

3

209-54-12280

HANDLE

4

205-54-68440

PLATE

5

01224-40616

SCREW

6

01010-51230

BOLT

7

01643-31232

WASHER

8

205-54-65362

FRAME

9

01010-51230

BOLT

10

01643-31232

WASHER

11

205-54-65950

STAY

12

205-54-65940

STAY

13

04205-11228

PIN

14

04052-01253

PIN

15

205-54-65793

COVER

16

01010-51230

BOLT

17

01643-31232

WASHER

18

205-54-65850

SUPPORT

19

205-54-12860

CATCHER

20

01010-50825

BOLT

21

01643-30823

WASHER

22

205-54-65321

COVER

23

01010-51230

BOLT

24

01643-31232

WASHER

25

205-54-65312

COVER

26

01010-51230

BOLT

27

01643-31232

WASHER

28

205-54-65620

SEAL

Выбрано товаров: 28