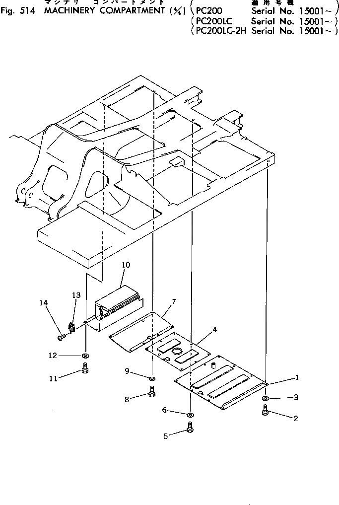
Запчасти Komatsu PC200LC-2 MACHINERY ОБСТАНОВКА (/) ОСНОВНАЯ РАМА И КАБИНА

Схема запчастей Komatsu PC200LC-2 - MACHINERY ОБСТАНОВКА (/) ОСНОВНАЯ РАМА И КАБИНА
FIT
1:1
100%

Артикул

Название

Примечание

Количество

1

205-54-65741

COVER

2

01010-51230

BOLT

3

01643-31232

WASHER

4

205-54-65751

COVER

5

01010-51230

BOLT

6

01643-31232

WASHER

7

205-54-65762

COVER

8

01010-51230

BOLT

9

01643-31232

WASHER

10

205-54-65712

CASE ASS'Y

11

01010-51230

BOLT

12

01643-31232

WASHER

13

195-57-11530

CATCHER

14

01220-40512

SCREW

Выбрано товаров: 14