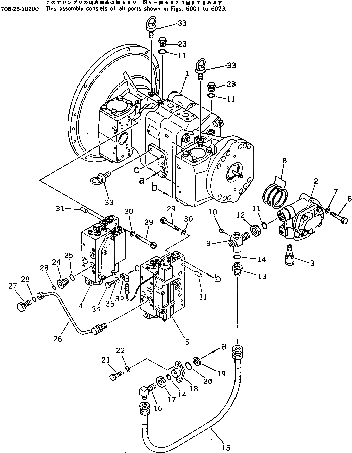
Запчасти Komatsu PC200LC-3 ГИДРАВЛ ПОРШЕНЬ НАСОС (/) (С -STAGE SELECTOR MODE OLSS)(№-987) УПРАВЛ-Е РАБОЧИМ ОБОРУДОВАНИЕМ

Схема запчастей Komatsu PC200LC-3 - ГИДРАВЛ ПОРШЕНЬ НАСОС (/) (С -STAGE SELECTOR MODE OLSS)(№-987) УПРАВЛ-Е РАБОЧИМ ОБОРУДОВАНИЕМ
FIT
1:1
100%

Артикул

Название

Примечание

Количество

|1

708-25-01064

PUMP ASS'Y

|1

708-25-10200

PUMP ASS'Y

1

708-25-01250

PUMP SUB ASS'Y

|1

708-25-11101

PUMP SUB ASS'Y

|1

708-25-11100

PUMP SUB ASS'Y

2

704-24-28201

PUMP ASS'Y

|2

4704-24-28200

PUMP ASS'Y

3

708-25-14902

RELIEF VALVE ASS'Y

|3

708-25-14800

RELIEF VALVE ASS'Y

4

708-25-07111

SERVO VALVE ASS'Y,FRONT

|4

708-25-15100

SERVO VALVE ASS'Y,FRONT

5

708-25-07212

SERVO VALVE ASS'Y,REAR

|5

708-25-16600

SERVO VALVE ASS'Y,REAR

6

01010-31260

BOLT

7

01602-01236

WASHER,SPRING

8

708-25-05030

SHIM KIT

|8

SHIM

|8

SHIM

|8

SHIM

9

708-25-19111

JOINT

10

07042-20108

PLUG

11

07002-02434

O-RING

12

07239-12410

NUT

13

07230-10422

UNION

14

07002-02034

O-RING

15

07102-20404

HOSE

16

07232-20422

ELBOW

17

07239-12009

NUT

18

708-25-19120

FLANGE

19

720-68-15240

FILTER

20

07000-02021

O-RING

21

01010-30820

BOLT

22

01602-20825

WASHER,SPRING

23

07044-02412

PLUG

24

706-46-53260

PLUG

25

07002-01423

O-RING

26

708-25-19140

TUBE

27

706-46-53180

BOLT,JOINT

28

07000-02012

O-RING

29

708-25-19130

BOLT

30

01602-00825

WASHER,SPRING

31

04020-00616

PIN,DOWEL

32

08036-21814

CLIP

33

04530-01018

BOLT,EYE

|33

04530-01018

BOLT,EYE

34

01010-31016

BOLT

35

01643-31032

WASHER

Выбрано товаров: 47