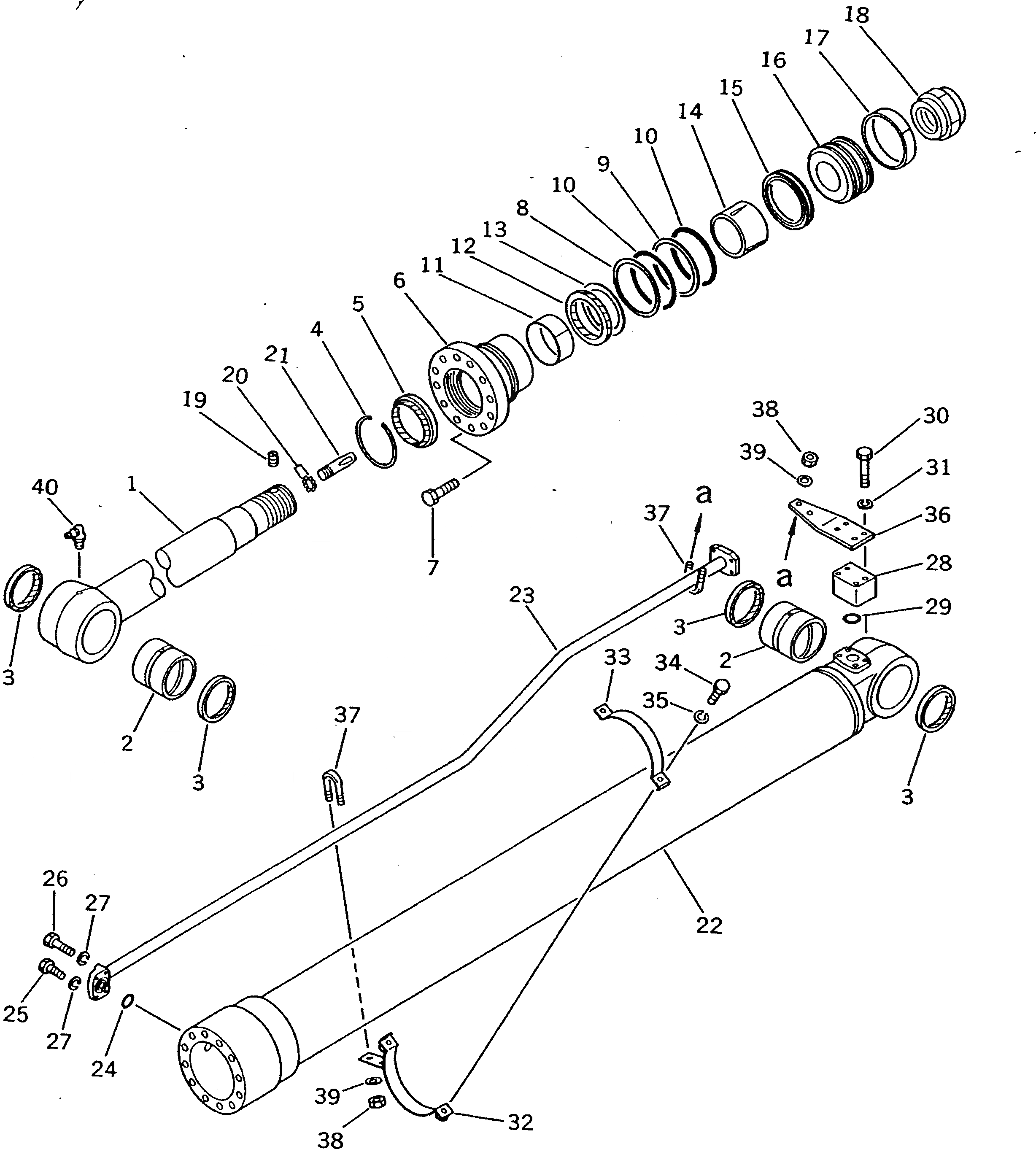
Запчасти Komatsu PC200LC-3 ЦИЛИНДР РУКОЯТИ(№-) УПРАВЛ-Е РАБОЧИМ ОБОРУДОВАНИЕМ

Схема запчастей Komatsu PC200LC-3 - ЦИЛИНДР РУКОЯТИ(№-) УПРАВЛ-Е РАБОЧИМ ОБОРУДОВАНИЕМ
FIT
1:1
100%

Артикул

Название

Примечание

Количество

|1

205-63-69300

ARM CYLINDER ASS'Y

|1

205-63-69310

CYLINDER SUB ASS'Y

1

205-63-69320

ROD,PISTON

2

707-76-80010

BUSHING

3

07145-00080

SEAL,DUST

4

07179-13109

RING,SNAP

5

07016-20958

SEAL,DUST

|5

707-56-95510

SEAL,DUST

6

707-28-13261

HEAD,CYLINDER

7

01010-81665

BOLT

8

707-35-91320

RING,BACK-UP

9

707-35-91330

RING,BACK-UP

10

07000-15120

O-RING

11

707-52-10950

BUSHING

12

707-51-95030

PACKING,ROD

13

707-51-95630

RING,BUFFER

14

707-71-50011

PLUNGER

15

707-44-13180

RING,PISTON

16

707-36-13440

PISTON

17

707-39-13110

RING,WEAR

18

707-68-10680

NUT

19

707-71-91250

SCREW

20

04260-00635

BALL

21

707-71-50252

PLUNGER

22

205-63-62141

CYLINDER

23

205-63-62170

TUBE

24

07000-13030

O-RING

25

01010-50845

BOLT

26

01010-50855

BOLT

27

01602-20825

WASHER,SPRING

28

20D-62-17860

ELBOW

29

07000-13035

O-RING

30

01010-51080

BOLT

31

01602-21030

WASHER,SPRING

32

707-88-99360

BAND

33

707-88-99310

BAND

34

01010-51030

BOLT

35

01602-21030

WASHER,SPRING

36

707-88-10820

PLATE

37

07283-22738

CLIP

38

01599-01011

NUT

39

01643-31032

WASHER

40

07020-00900

FITTING,GREASE

Выбрано товаров: 43