Запчасти Komatsu PC200LC-3 КОВШ¤ .8M ШИР. MM(№-) РАБОЧЕЕ ОБОРУДОВАНИЕ

Схема запчастей Komatsu PC200LC-3 - КОВШ¤ .8M ШИР. MM(№-) РАБОЧЕЕ ОБОРУДОВАНИЕ
FIT
1:1
100%

Артикул

Название

Примечание

Количество

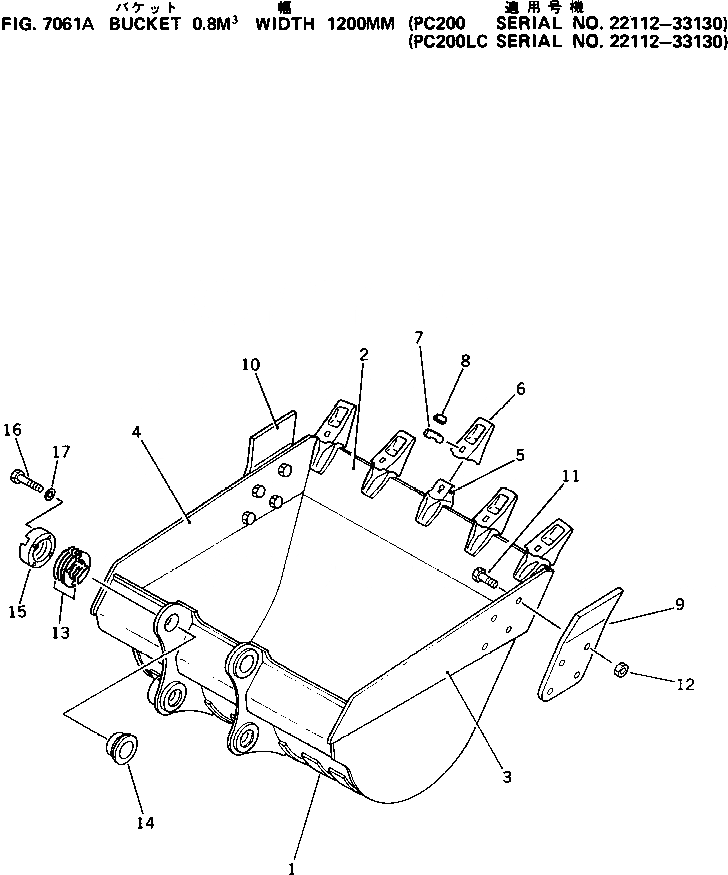
1

205-920-7211

BUCKET

|1

205-920-7210

BUCKET

2

205-920-7221

PLATE (WELDED)

|2

205-920-7220

PLATE (WELDED)

3

205-70-74162

PLATE,L.H. (WELDED)

|3

205-70-74161

PLATE,L.H. (WELDED)

4

205-70-74172

PLATE,R.H. (WELDED)

|4

205-70-74171

PLATE,R.H. (WELDED)

5

205-70-74261

ADAPTER (WELDED)

6

205-70-74272

TOOTH

|6

205-70-74271

TOOTH

7

205-70-74281

PIN

|7

205-70-74280

PIN

8

205-70-74291

LOCK

|8

205-70-74290

LOCK

9

205-70-74180

CUTTER,L.H.

10

205-70-74190

CUTTER,R.H.

11

176-32-11210

BOLT¤ SHOE

12

01803-02430

NUT

13

205-70-00101

SHIM ASS'Y

|13

205-70-00100

SHIM ASS'Y

|13

SHIM¤ 0.5MM

|13

SHIM¤ 1.0MM

|13

SHIM¤ 1.0MM

14

205-70-74381

SPACER

15

205-70-74391

PLATE

16

01010-52055

BOLT

17

01643-32060

WASHER

Выбрано товаров: 28