Запчасти Komatsu PC200LC-3 КОВШ¤ .9M¤ ШИР. MM¤ ГОРИЗОНТАЛЬН. ПАЛЕЦ(№-) РАБОЧЕЕ ОБОРУДОВАНИЕ

Схема запчастей Komatsu PC200LC-3 - КОВШ¤ .9M¤ ШИР. MM¤ ГОРИЗОНТАЛЬН. ПАЛЕЦ(№-) РАБОЧЕЕ ОБОРУДОВАНИЕ
FIT
1:1
100%

Артикул

Название

Примечание

Количество

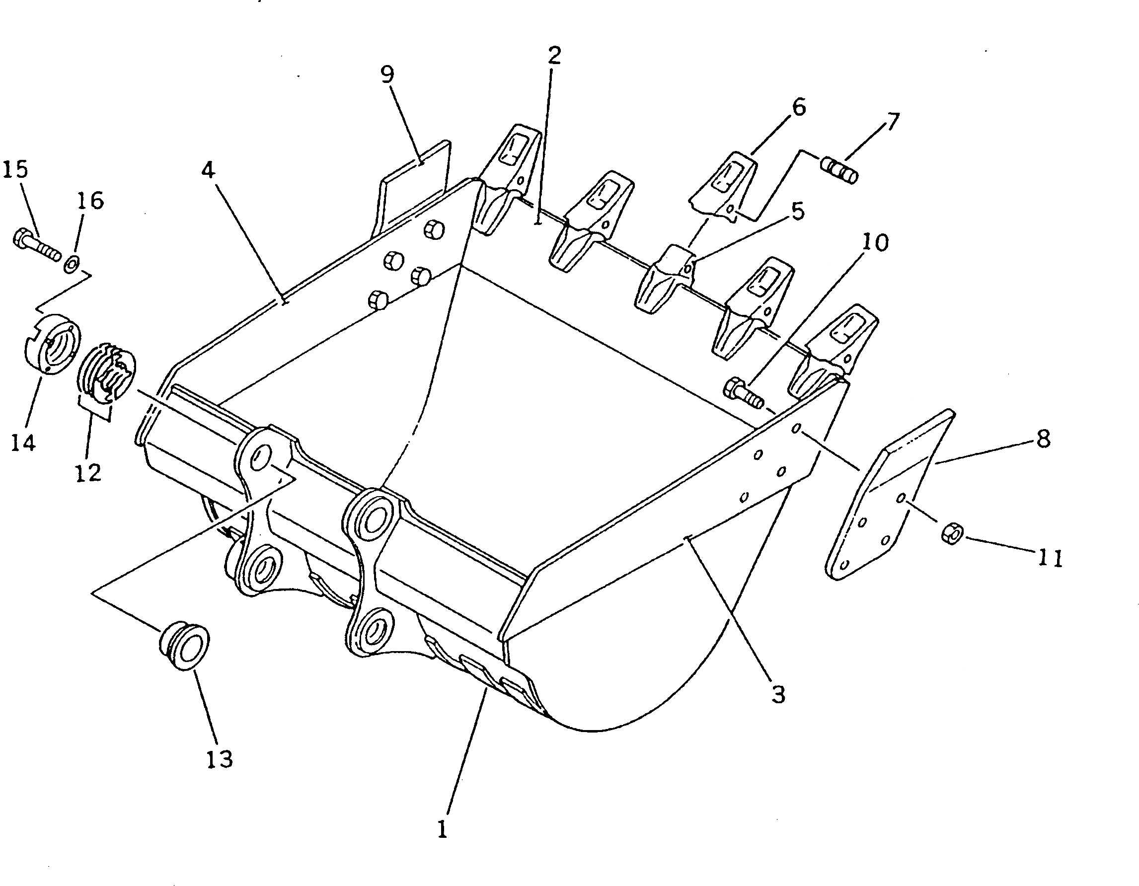
1

205-920-7610

BUCKET

2

205-920-7321

PLATE (WELDED)

|2

205-920-7320

PLATE (WELDED)

3

205-920-7331

PLATE,L.H. (WELDED)

|3

205-920-7330

PLATE,L.H. (WELDED)

4

205-920-7341

PLATE,R.H. (WELDED)

|4

205-920-7340

PLATE,R.H. (WELDED)

5

205-939-7120

ADAPTER (WELDED)

6

205-70-19570

TOOTH

7

09244-02496

PIN

Выбрано товаров: 10