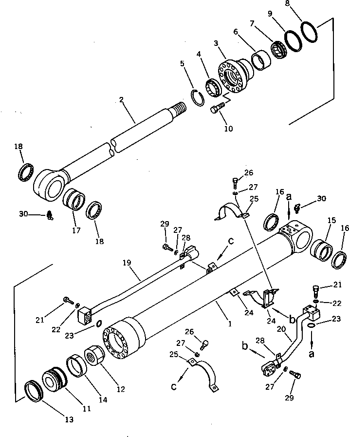
Запчасти Komatsu PC200LC-3 ЦИЛИНДР КОВША (ДЛЯ FEET УДЛИНН. РУКОЯТЬ И СТРЕЛА) РАБОЧЕЕ ОБОРУДОВАНИЕ

Схема запчастей Komatsu PC200LC-3 - ЦИЛИНДР КОВША (ДЛЯ FEET УДЛИНН. РУКОЯТЬ И СТРЕЛА) РАБОЧЕЕ ОБОРУДОВАНИЕ
FIT
1:1
100%

Артикул

Название

Примечание

Количество

|1

203-63-72500

BUCKET CYLINDER A.

|1

203-63-72510

CYLINDER SUB ASS'Y

1

203-63-72540

CYLINDER

2

203-63-72520

ROD,PISTON

3

707-27-10171

HEAD,CYLINDER

4

144-63-92170

SEAL,DUST

5

07179-00088

RING,SNAP

6

07177-06530

BUSHING

7

707-51-65211

PACKING,ROD

8

07000-12095

O-RING

9

07146-02096

RING,BACK-UP

10

01010-51450

BOLT

11

707-36-10260

PISTON

12

07165-14547

NUT

13

707-44-10080

RING,PISTON

14

07155-01025

RING,WEAR

15

707-76-65040

BUSHING

16

07145-00065

SEAL,DUST

17

707-76-65050

BUSHING

18

707-77-65110

SEAL,DUST

19

203-63-72570

TUBE

20

203-63-72580

TUBE

21

01010-50850

BOLT

22

01602-20825

WASHER,SPRING

23

07000-13025

O-RING

24

707-88-99060

BAND

25

707-88-99010

BAND

26

01010-51030

BOLT

27

01602-21030

WASHER,SPRING

28

07282-02288

CLAMP

29

01010-51020

BOLT

30

07020-00675

FITTING,GREASE

Выбрано товаров: 32