Запчасти Komatsu PC200LC-3 КАПОТ (/) (PCS¤ LCS)(№-7) СПЕЦ. APPLICATION ЧАСТИ¤ МАРКИРОВКА¤ ИНСТРУМЕНТ И РЕМКОМПЛЕКТЫ

Схема запчастей Komatsu PC200LC-3 - КАПОТ (/) (PCS¤ LCS)(№-7) СПЕЦ. APPLICATION ЧАСТИ¤ МАРКИРОВКА¤ ИНСТРУМЕНТ И РЕМКОМПЛЕКТЫ
FIT
1:1
100%

Артикул

Название

Примечание

Количество

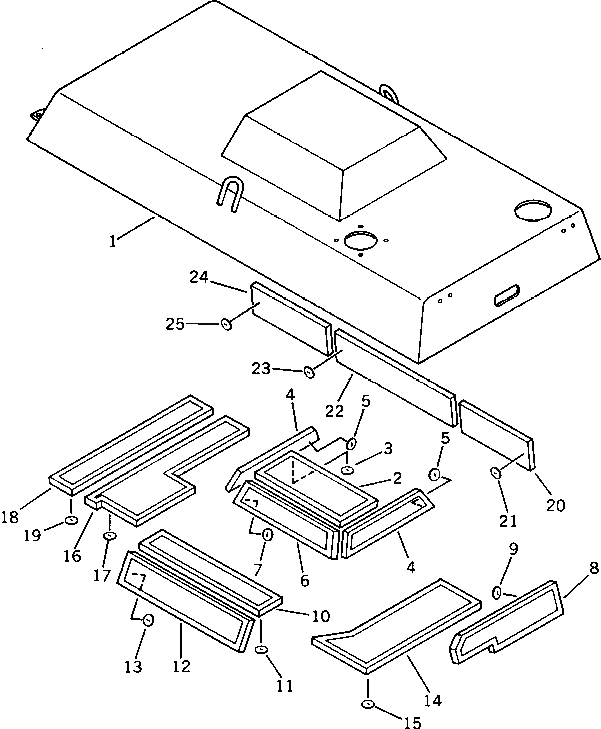
1

205-56-12670

HOOD

2

205-56-12580

FELT

3

04431-30000

PLATE

4

205-56-12650

FELT

5

04431-30000

PLATE

6

205-56-12640

FELT

7

04431-30000

PLATE

8

205-56-12660

FELT

9

04431-30000

PLATE

10

205-56-12590

FELT

11

04431-30000

PLATE

12

205-56-12610

FELT

13

04431-30000

PLATE

14

205-56-12630

FELT

15

04431-30000

PLATE

16

205-56-12550

FELT

17

04431-30000

PLATE

18

205-56-12620

FELT

19

04431-30000

PLATE

20

205-56-12570

FELT

21

04431-30000

PLATE

22

205-56-12560

FELT

23

04431-30000

PLATE

24

205-56-12680

FELT

25

04431-30000

PLATE

Выбрано товаров: 25