Запчасти Komatsu PC200LC-3 MACHINERY ОБСТАНОВКА (/) (PCS¤ LCS)(№-7) СПЕЦ. APPLICATION ЧАСТИ¤ МАРКИРОВКА¤ ИНСТРУМЕНТ И РЕМКОМПЛЕКТЫ

Схема запчастей Komatsu PC200LC-3 - MACHINERY ОБСТАНОВКА (/) (PCS¤ LCS)(№-7) СПЕЦ. APPLICATION ЧАСТИ¤ МАРКИРОВКА¤ ИНСТРУМЕНТ И РЕМКОМПЛЕКТЫ
FIT
1:1
100%

Артикул

Название

Примечание

Количество

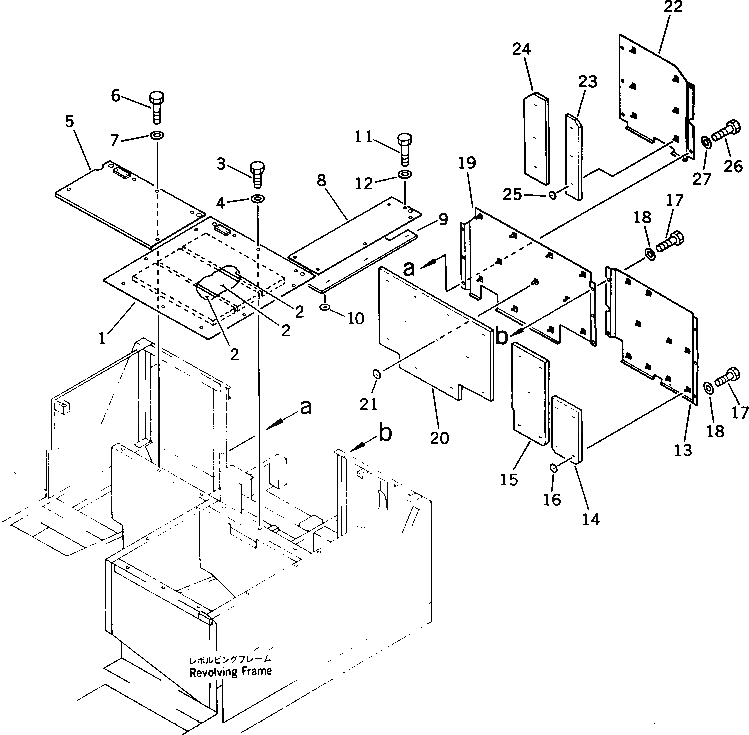
1

205-54-76111

COVER

2

205-54-75611

SHEET

3

01010-51230

BOLT

4

01643-31232

WASHER

5

205-54-76132

COVER

6

01010-51230

BOLT

7

01643-31232

WASHER

8

205-56-12690

COVER

9

205-56-12720

FELT

10

04431-30000

PLATE

11

01010-51230

BOLT

12

01643-31232

WASHER

13

205-56-11330

COVER

14

205-56-11830

FELT

15

205-56-11840

FELT

16

04431-30000

PLATE

17

01010-51230

BOLT

18

01643-31232

WASHER

19

205-56-12710

COVER

20

205-56-12770

FELT

21

04431-30000

PLATE

22

205-56-11350

COVER

23

20-56-11860

FELT

24

205-56-11870

FELT

25

04431-30000

PLATE

26

01010-51230

BOLT

27

01643-31232

WASHER

Выбрано товаров: 27