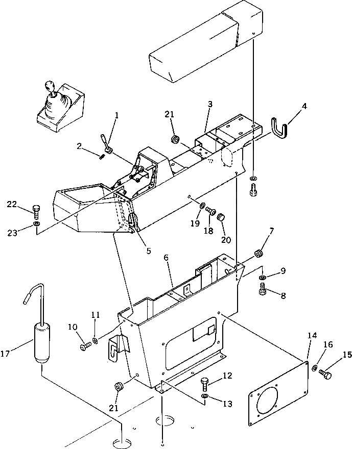
Запчасти Komatsu PC200LC-3 WRIST УПРАВЛ-Е И СТОЙКА¤ ПРАВ. (/)(№-9) ПОВОРОТН. И СИСТЕМА УПРАВЛЕНИЯ

Схема запчастей Komatsu PC200LC-3 - WRIST УПРАВЛ-Е И СТОЙКА¤ ПРАВ. (/)(№-9) ПОВОРОТН. И СИСТЕМА УПРАВЛЕНИЯ
FIT
1:1
100%

Артикул

Название

Примечание

Количество

1

205-43-71291

LEVER,R.H.

|1

205-43-71290

LEVER,R.H.

2

04025-00520

PIN,SPRING

3

205-43-71253

BOX,R.H.

|3

205-43-71252

BOX,R.H.

4

203-54-87670

SEAL

5

205-43-73240

SEAL

6

205-43-71662

CASE,R.H.

|6

205-43-71661

CASE,R.H.

7

08037-02512

GROMMET

8

01010-50820

BOLT

9

01643-30823

WASHER

10

198-911-3430

SCREW

11

198-911-3160

WASHER

12

01010-51230

BOLT

13

01643-31232

WASHER

14

205-43-71673

COVER

|14

205-43-71672

COVER

15

01010-50820

BOLT

16

01643-30823

WASHER

17

205-43-72492

PIN

|17

205-43-72491

PIN

18

198-911-3430

SCREW

19

198-911-3160

WASHER

20

09415-01610

CAP

21

08037-02512

GROMMET

22

01010-50825

BOLT

23

01643-30823

WASHER

Выбрано товаров: 28