Запчасти Komatsu PC200LC-3 P.P.C. КЛАПАН ТРУБЫ (/) (ДЛЯ УДЛИНН. РЫЧАГ УПРАВЛ-Е)(№-8) ПОВОРОТН. И СИСТЕМА УПРАВЛЕНИЯ

Схема запчастей Komatsu PC200LC-3 - P.P.C. КЛАПАН ТРУБЫ (/) (ДЛЯ УДЛИНН. РЫЧАГ УПРАВЛ-Е)(№-8) ПОВОРОТН. И СИСТЕМА УПРАВЛЕНИЯ
FIT
1:1
100%

Артикул

Название

Примечание

Количество

|1

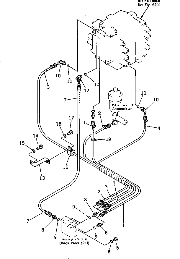
205-62-74141

HOSE ASS'Y

1

205-62-74310

HOSE,(BLUE)

2

205-62-71630

HOSE,(RED)

3

205-62-74290

HOSE,(GREEN)

4

205-62-74320

HOSE,(BLACK)

5

07040-11409

PLUG

6

07002-01423

O-RING

7

205-62-74320

HOSE

8

07230-10210

UNION

9

07002-01423

O-RING

10

07235-10210

ELBOW

11

07002-01423

O-RING

12

208-26-11611

TEE

13

205-62-71890

BRACKET

14

01010-51225

BOLT

15

01643-31232

WASHER

16

21T-06-11950

CLIP

17

01010-51225

BOLT

18

01643-31232

WASHER

19

08034-00519

BAND

|19

08034-00823

BAND

Выбрано товаров: 21