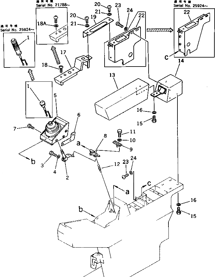
Запчасти Komatsu PC200LC-3 WRIST УПРАВЛ-Е И СТОЙКА¤ ПРАВ. (/)(№9-) ПОВОРОТН. И СИСТЕМА УПРАВЛЕНИЯ

Схема запчастей Komatsu PC200LC-3 - WRIST УПРАВЛ-Е И СТОЙКА¤ ПРАВ. (/)(№9-) ПОВОРОТН. И СИСТЕМА УПРАВЛЕНИЯ
FIT
1:1
100%

Артикул

Название

Примечание

Количество

1

205-43-73700

SWITCH ASS'Y,(SEE FIG. 4439)

1

205-06-71360

SWITCH,HORN

2

205-43-73760

LEVER,R.H.

2

205-43-71383

LEVER,R.H.

3

01010-50825

BOLT

4

01643-30823

WASHER

5

205-43-71223

BOOT

5

205-43-71222

BOOT

6

205-43-71991

COVER

7

205-43-71280

SCREW

8

205-43-71944

LEVER,R.H.

9

205-43-73561

PLATE

10

01643-30623

WASHER

11

01252-40614

BOLT

11

01252-40618

BOLT

12

205-43-73340

SPRING

13

205-43-73580

CUSHION,R.H.

13

205-43-71981

CUSHION,R.H.

14

205-43-71622

COVER,R.H.

15

01010-50820

BOLT

16

01643-30823

WASHER

17

205-43-71961

COVER

18

205-43-71280

SCREW

18A

205-43-73420

WASHER

19

205-43-71951

PLATE

20

205-43-71280

SCREW

21

205-43-73420

WASHER

22

205-43-71972

COVER

22

205-43-71971

COVER

23

198-911-3430

SCREW

24

198-911-3160

WASHER

Выбрано товаров: 31