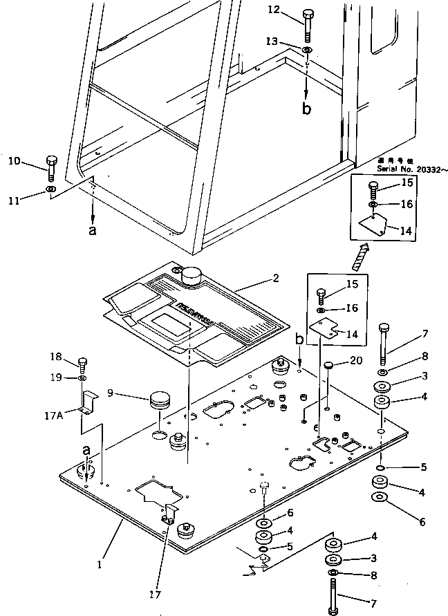
Запчасти Komatsu PC200LC-3 КАБИНА¤ ОСНОВН. КОНСТРУКЦИЯ (ДЛЯ WRIST УПРАВЛ-Е)(№-9) ОСНОВНАЯ РАМА И КАБИНА

Схема запчастей Komatsu PC200LC-3 - КАБИНА¤ ОСНОВН. КОНСТРУКЦИЯ (ДЛЯ WRIST УПРАВЛ-Е)(№-9) ОСНОВНАЯ РАМА И КАБИНА
FIT
1:1
100%

Артикул

Название

Примечание

Количество

1

205-54-71164

FRAME,FLOOR

1

205-54-71163

FRAME,FLOOR

1

205-54-71162

FRAME,FLOOR

2

205-54-72421

MAT,FLOOR

3

205-54-71691

PLATE

4

205-54-71680

CUSHION

5

07000-03028

O-RING

6

205-54-72640

SPACER

7

01011-51600

BOLT

8

01643-31645

WASHER

9

09415-05016

CAP

10

01010-51250

BOLT

11

01643-31232

WASHER

12

01010-51270

BOLT

13

01643-31232

WASHER

14

205-06-71771

PLATE

14

205-06-71770

PLATE

15

01010-51020

BOLT

16

01643-31032

WASHER

17

205-43-73590

BRACKET,L.H.

17

203-43-42572

BRACKET,L.H.

17

203-43-42571

BRACKET,L.H.

17A

205-43-73610

BRACKET,R.H.

17A

203-43-42572

BRACKET,R.H.

17A

203-43-42571

BRACKET,R.H.

18

01010-51025

BOLT

19

01643-31032

WASHER

20

09415-02520

CAP

Выбрано товаров: 28