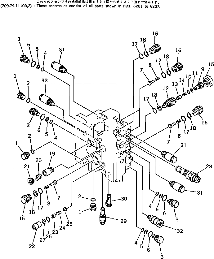
Запчасти Komatsu PC200LC-3 УПРАВЛЯЮЩ. КЛАПАН (/7) (ДЛЯ УДЛИНН. РЫЧАГ УПРАВЛ-Е)(№-) УПРАВЛ-Е РАБОЧИМ ОБОРУДОВАНИЕМ

Схема запчастей Komatsu PC200LC-3 - УПРАВЛЯЮЩ. КЛАПАН (/7) (ДЛЯ УДЛИНН. РЫЧАГ УПРАВЛ-Е)(№-) УПРАВЛ-Е РАБОЧИМ ОБОРУДОВАНИЕМ
FIT
1:1
100%

Артикул

Название

Примечание

Количество

|$0

709-79-11102

CONTROL VALVE ASS'Y

|$1

709-79-11100

CONTROL VALVE ASS'Y

|$2

709-75-91100

VALVE ASS'Y

1

700-22-11370

PLUG

2

07002-12434

O-RING

3

700-84-13960

PLUG

4

700-22-11410

O-RING

5

700-80-64220

RING,BACK-UP

6

07002-03034

O-RING

7

709-75-92210

VALVE,CHECK

8

709-75-92220

SPRING

9

709-74-92450

PLUG

10

07000-12010

O-RING

11

07001-02010

RING,BACK-UP

12

709-74-92440

PLUG

13

706-73-70140

VALVE,CHECK

14

706-73-70150

SPRING

15

709-74-92460

NUT

16

709-75-92230

PLUG

17

700-93-11320

O-RING

18

700-93-11330

RING,BACK-UP

19

709-74-92280

VALVE

20

709-74-92290

SPRING

21

709-74-92310

SEAT

22

709-74-92320

SLEEVE

23

709-74-92330

VALVE

24

709-74-92340

SPRING

25

709-74-92350

SEAT

26

07000-12021

O-RING

27

07001-02021

RING,BACK-UP

28

709-70-51200

RELIEF VALVE ASS'Y

29

709-70-55100

RELIEF VALVE ASS'Y

30

709-70-91300

ORIFICE ASS'Y

31

700-81-81000

VALVE ASS'Y

32

709-70-62200

VALVE ASS'Y

32

709-70-62100

VALVE ASS'Y

33

709-70-61200

VALVE ASS'Y

Выбрано товаров: 37