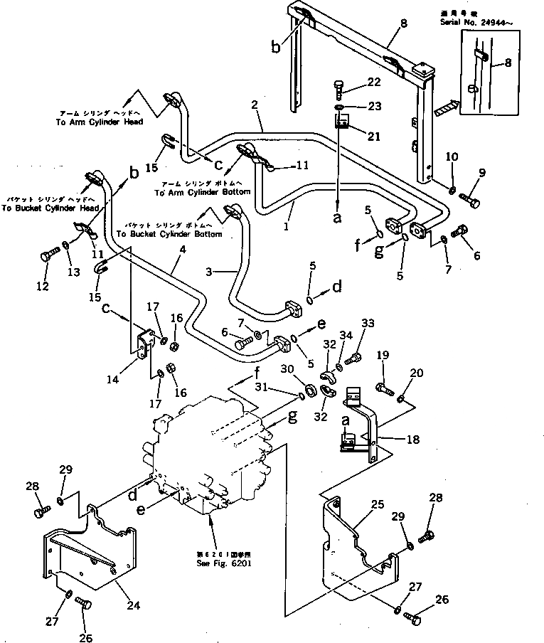
Запчасти Komatsu PC200LC-3 ГИДРОЛИНИЯ (РУКОЯТЬ¤ ЦИЛИНДР КОВША) (ШАССИ)(№8-7) УПРАВЛ-Е РАБОЧИМ ОБОРУДОВАНИЕМ

Схема запчастей Komatsu PC200LC-3 - ГИДРОЛИНИЯ (РУКОЯТЬ¤ ЦИЛИНДР КОВША) (ШАССИ)(№8-7) УПРАВЛ-Е РАБОЧИМ ОБОРУДОВАНИЕМ
FIT
1:1
100%

Артикул

Название

Примечание

Количество

1

205-62-71392

TUBE

2

205-62-71412

TUBE

3

205-62-71422

TUBE

4

205-62-71432

TUBE

5

21T-09-11450

O-RING

6

01010-50830

BOLT

7

01643-50823

WASHER

8

205-62-71492

BRACKET

8

205-62-71491

BRACKET

9

01010-51230

BOLT

10

01643-31232

WASHER

11

205-62-71470

CLAMP

12

01010-51035

BOLT

13

01643-31032

WASHER

14

205-62-71591

BRACKET

15

07283-22738

CLIP

16

01599-01011

NUT

17

01643-31032

WASHER

18

205-62-71461

BRACKET

19

01010-51235

BOLT

20

01643-31232

WASHER

21

205-62-71550

CLAMP

22

01010-51030

BOLT

23

01643-31032

WASHER

24

205-62-71612

BRACKET

25

205-62-71622

BRACKET

26

01010-51230

BOLT

27

01643-31232

WASHER

28

01010-51030

BOLT

29

01643-31032

WASHER

30

07378-10600

HEAD

31

21T-09-11430

O-RING

32

07371-30638

FLANGE,SPLIT

33

01010-50830

BOLT

34

01643-50823

WASHER

Выбрано товаров: 0