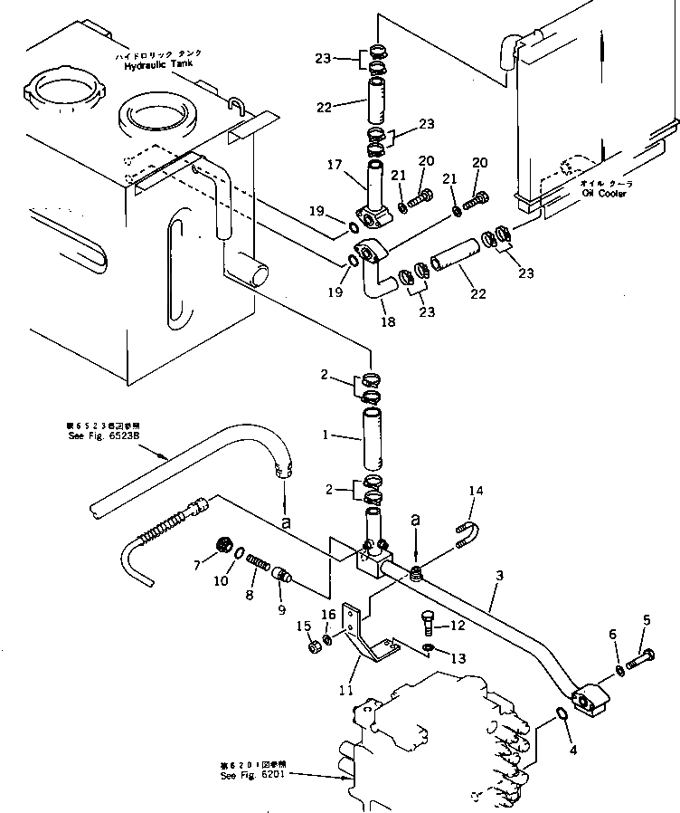
Запчасти Komatsu PC200LC-3 ГИДРОЛИНИЯ (ВОЗВРАТ. И МАСЛООХЛАДИТЕЛЬ) (АВТОМ. ЗАМЕДЛЕНИЕ ОБОРОТОВ) (С ПОВОРОТН. МЕХАНИЧ. ТОРМОЗ.)(№7-7) УПРАВЛ-Е РАБОЧИМ ОБОРУДОВАНИЕМ
№
Артикул
Название
Примечание
Количество
1
205-62-68330
HOSE
2
208-09-11110
CLAMP
3
205-62-71275
TUBE
4
07000-03035
O-RING
5
01010-51085
BOLT
6
01643-31032
WASHER
7
205-62-71971
PLUG
8
135-60-17110
SPRING
9
205-60-71230
POPPET
10
07002-05234
O-RING
11
205-62-71951
BRACKET
12
01010-51230
BOLT
13
01643-31232
WASHER
14
07283-24346
CLIP
15
01599-01011
NUT
16
01643-31032
WASHER
17
205-62-71911
TUBE
18
205-62-71921
TUBE
19
07000-03045
O-RING
20
01010-51070
BOLT
21
01643-31032
WASHER
22
205-62-68330
HOSE
23
208-09-11110
CLAMP
Выбрано товаров: 23