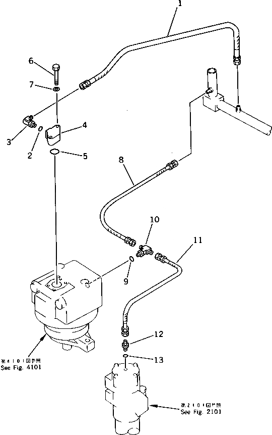
Запчасти Komatsu PC200LC-3 ГИДРОЛИНИЯ (ВОЗВРАТ.)(№7-) УПРАВЛ-Е РАБОЧИМ ОБОРУДОВАНИЕМ

Схема запчастей Komatsu PC200LC-3 - ГИДРОЛИНИЯ (ВОЗВРАТ.)(№7-) УПРАВЛ-Е РАБОЧИМ ОБОРУДОВАНИЕМ
FIT
1:1
100%

Артикул

Название

Примечание

Количество

1

205-62-72840

HOSE

1

07102-20609

HOSE, 900MM

2

07002-02434

O-RING

3

07235-10628

ELBOW

4

205-62-72470

FLANGE

5

07000-03045

O-RING

6

01010-51265

BOLT

7

01643-31232

WASHER

8

205-62-71282

HOSE

8

205-62-71281

HOSE

9

07002-02034

O-RING

10

209-62-27580

TEE

11

205-62-71290

HOSE

12

07230-20315

UNION

12

07230-10315

UNION

13

07002-02034

O-RING

Выбрано товаров: 16