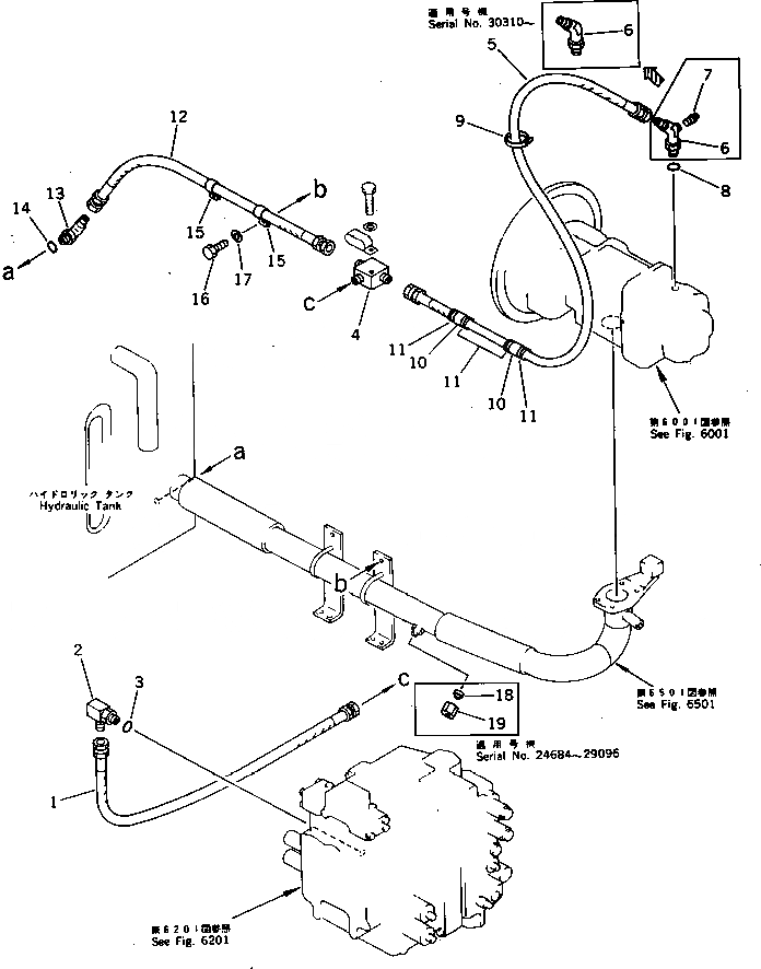
Запчасти Komatsu PC200LC-3 ГИДРОЛИНИЯ (ДРЕНАЖН.) (ДЛЯ УДЛИНН. РЫЧАГ УПРАВЛ-Е)(№7-) УПРАВЛ-Е РАБОЧИМ ОБОРУДОВАНИЕМ

Схема запчастей Komatsu PC200LC-3 - ГИДРОЛИНИЯ (ДРЕНАЖН.) (ДЛЯ УДЛИНН. РЫЧАГ УПРАВЛ-Е)(№7-) УПРАВЛ-Е РАБОЧИМ ОБОРУДОВАНИЕМ
FIT
1:1
100%

Артикул

Название

Примечание

Количество

1

07102-20508

HOSE

2

205-62-74910

ELBOW

2

07235-10522

ELBOW

2

205-62-74380

ELBOW

3

07002-02434

O-RING

4

205-62-74722

TEE

4

205-62-74721

TEE

5

07102-20610

HOSE

5

07102-20510

HOSE

6

07236-10628

ELBOW

6

07236-10522

ELBOW

6

07236-50522

ELBOW

7

07042-30108

PLUG

8

07002-02434

O-RING

9

08034-00519

BAND

9

08034-00823

BAND

10

205-62-72240

COVER

11

08034-00536

BAND

12

07102-20616

HOSE

12

07102-20516

HOSE

13

07235-10628

ELBOW

13

07235-10522

ELBOW

14

07002-02434

O-RING

15

08035-03014

CLIP

15

08036-02514

CLIP

16

01010-51025

BOLT

17

01643-31032

WASHER

18

07222-00210

PLUG

19

07221-20210

NUT

Выбрано товаров: 29