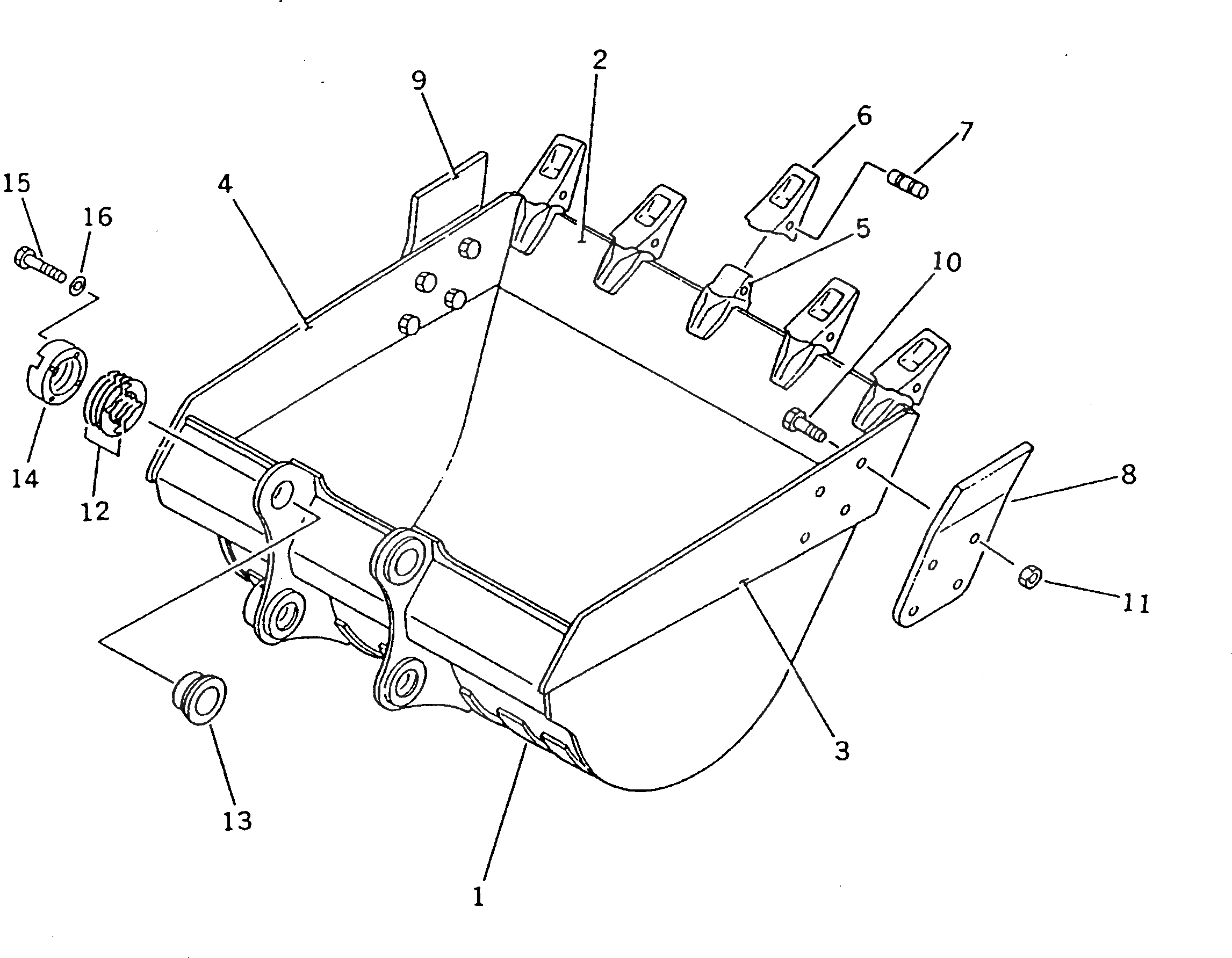
Запчасти Komatsu PC200LC-3 КОВШ¤ .9M¤ ШИР. MM¤ ГОРИЗОНТАЛЬН. ПАЛЕЦ(№-) РАБОЧЕЕ ОБОРУДОВАНИЕ

Схема запчастей Komatsu PC200LC-3 - КОВШ¤ .9M¤ ШИР. MM¤ ГОРИЗОНТАЛЬН. ПАЛЕЦ(№-) РАБОЧЕЕ ОБОРУДОВАНИЕ
FIT
1:1
100%

Артикул

Название

Примечание

Количество

1

20Y-920-1250

BUCKET

2

20Y-920-1220

PLATE (WELDED)

3

20Y-70-14131

PLATE (WELDED)

4

20Y-70-14141

PLATE (WELDED)

5

20Y-70-14520

ADAPTER (WELDED)

6

205-70-19570

TOOTH

7

09244-02496

PIN

Выбрано товаров: 0