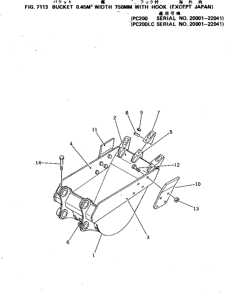
Запчасти Komatsu PC200LC-3 КОВШ¤ .M ШИР. 7MM¤ С КРЮК (КРОМЕ ЯПОН.)(№-) РАБОЧЕЕ ОБОРУДОВАНИЕ

Схема запчастей Komatsu PC200LC-3 - КОВШ¤ .M ШИР. 7MM¤ С КРЮК (КРОМЕ ЯПОН.)(№-) РАБОЧЕЕ ОБОРУДОВАНИЕ
FIT
1:1
100%

Артикул

Название

Примечание

Количество

1

205-926-7230

BUCKET

2

205-926-7220

PLATE (WELDED)

3

205-70-74161

PLATE,L.H. (WELDED)

4

205-70-74171

PLATE,R.H. (WELDED)

5

205-70-74261

ADAPTER (WELDED)

6

205-70-74420

HOOK (WELDED)

7

205-70-74271

TOOTH

8

205-70-74280

PIN

9

205-70-74290

LOCK

10

205-70-74180

CUTTER,L.H.

11

205-70-74190

CUTTER,R.H.

12

176-32-11210

BOLT, SHOE

13

01803-02430

NUT

14

205-70-73190

BOLT

Выбрано товаров: 14