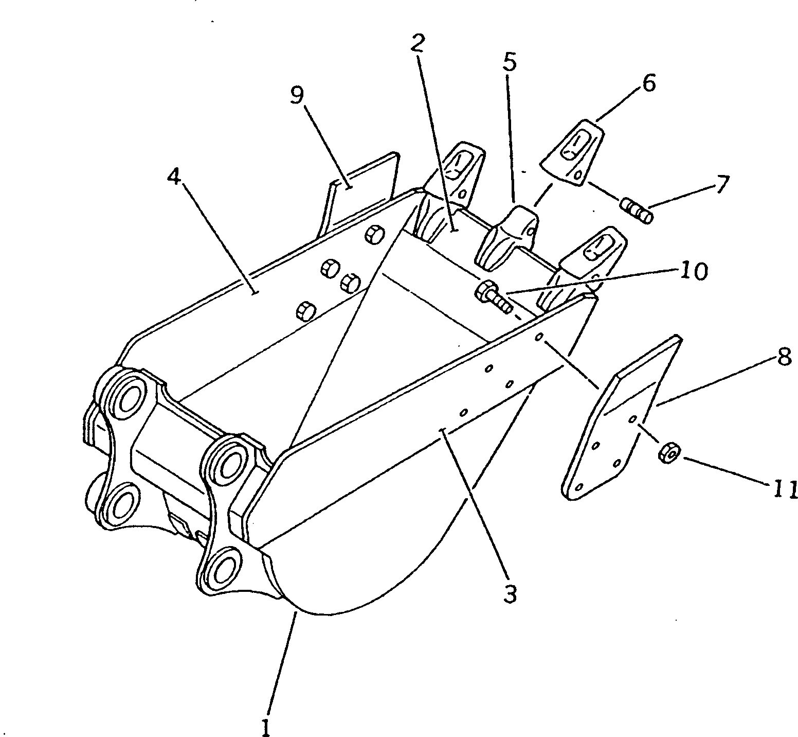
Запчасти Komatsu PC200LC-3 КОВШ¤ .M ШИР. MM¤ ГОРИЗОНТАЛЬН. ПАЛЕЦ РАБОЧЕЕ ОБОРУДОВАНИЕ

Схема запчастей Komatsu PC200LC-3 - КОВШ¤ .M ШИР. MM¤ ГОРИЗОНТАЛЬН. ПАЛЕЦ РАБОЧЕЕ ОБОРУДОВАНИЕ
FIT
1:1
100%

Артикул

Название

Примечание

Количество

1

205-926-7350

BUCKET

2

205-926-7321

PLATE (WELDED)

2

205-926-7320

PLATE (WELDED)

3

205-70-74162

PLATE,L.H. (WELDED)

3

205-70-74161

PLATE,L.H. (WELDED)

4

205-70-74172

PLATE,R.H. (WELDED)

4

205-70-74171

PLATE,R.H. (WELDED)

5

205-939-7120

ADAPTER (WELDED)

6

205-70-19570

TOOTH

7

09244-02496

PIN

8

205-70-74180

CUTTER,L.H.

9

205-70-74190

CUTTER,R.H.

10

176-32-11210

BOLT, SHOE

11

01803-02430

NUT

Выбрано товаров: 14