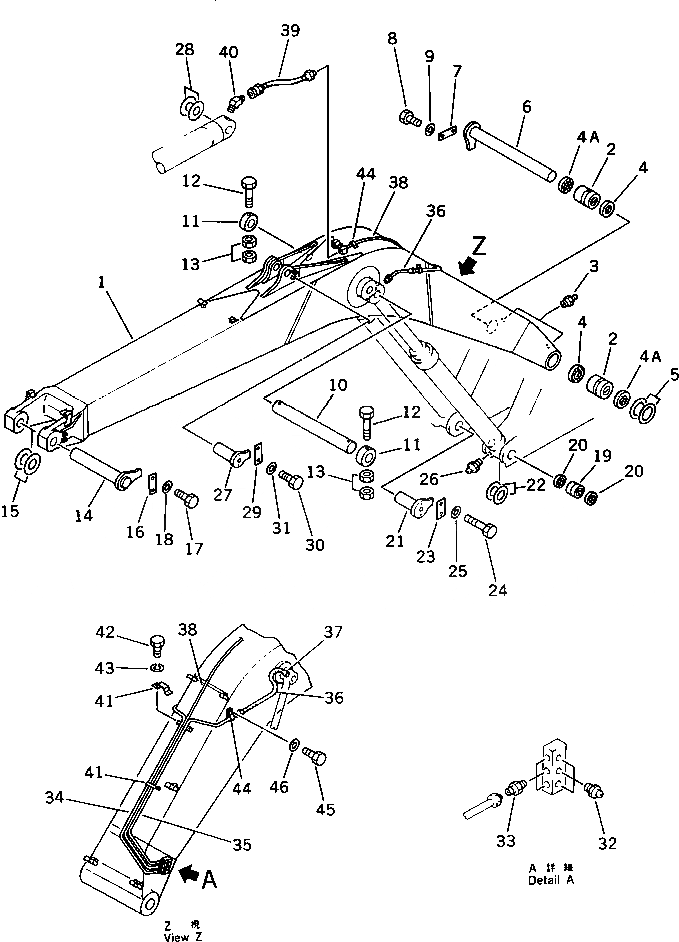
Запчасти Komatsu PC200LC-3 СТРЕЛА (ДЛЯ FEET УДЛИНН. РУКОЯТЬ И СТРЕЛА) РАБОЧЕЕ ОБОРУДОВАНИЕ

Схема запчастей Komatsu PC200LC-3 - СТРЕЛА (ДЛЯ FEET УДЛИНН. РУКОЯТЬ И СТРЕЛА) РАБОЧЕЕ ОБОРУДОВАНИЕ
FIT
1:1
100%

Артикул

Название

Примечание

Количество

|$0

205-949-0030

BOOM ASS'Y

1

BOOM

2

206-949-4170

BUSHING

3

07020-00000

FITTING,GREASE

4

07145-00080

SEAL,DUST

4A

07145-00080

SEAL,DUST

5

205-70-51450

SPACER, 1.0MM

6

205-70-71160

PIN

7

205-70-71311

PLATE

7

205-70-71310

PLATE

8

01010-51640

BOLT

8

01010-51235

BOLT

9

01643-31645

WASHER

9

01643-31232

WASHER

10

206-70-51190

PIN

11

205-70-65670

PLATE

12

205-70-73190

BOLT

13

01580-12016

NUT

14

205-70-65680

PIN

15

206-70-45220

SPACER, 1.0MM

16

205-70-71310

PLATE

17

01010-51235

BOLT

18

01643-31232

WASHER

19

206-949-4540

BUSHING

20

07145-00070

SEAL

21

205-70-71210

PIN

22

203-70-24170

SPACER, 1.0MM

23

205-70-66580

PLATE

24

01010-51235

BOLT

25

01643-31232

WASHER

26

07020-00000

FITTING,GREASE

27

205-70-71320

PIN

28

205-70-51520

SPACER, 1.0MM

29

205-70-66580

PLATE

30

01010-51230

BOLT

31

01643-31232

WASHER

32

07020-00000

FITTING,GREASE

33

07213-50813

CONNECTOR

34

205-70-71251

TUBE

35

205-70-71271

TUBE

36

205-70-51360

HOSE, 540MM

37

205-70-51390

NIPPLE

38

205-949-4130

TUBE

39

209-72-16580

HOSE

40

205-70-65780

ELBOW

41

205-70-51410

CLIP

42

01010-50612

BOLT

43

01643-30623

WASHER

44

08036-00814

CLIP

44

21T-62-25740

CLIP

45

01010-51016

BOLT

46

01643-31032

WASHER

Выбрано товаров: 52