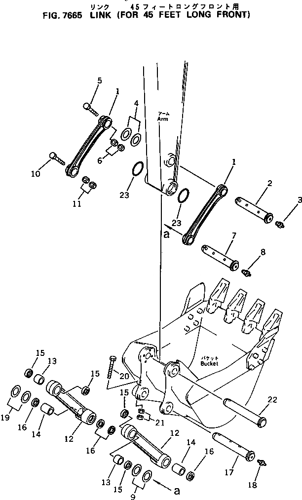
/ / / / / / СОЕДИНИТЕЛЬН. ЗВЕНО (ДЛЯ FEET УДЛИНН. РУКОЯТЬ И СТРЕЛА)
Запчасти Komatsu PC200LC-3 СОЕДИНИТЕЛЬН. ЗВЕНО (ДЛЯ FEET УДЛИНН. РУКОЯТЬ И СТРЕЛА) РАБОЧЕЕ ОБОРУДОВАНИЕ
1
203-70-44490
LINK,L.H.
1
203-70-44510
LINK,R.H.
2
203-70-44350
PIN
3
07020-00000
FITTING,GREASE
4
203-70-24150
SPACER, 1.0MM
4
203-70-24160
SPACER, 2.0MM
5
01019-11620
BOLT
6
01580-11613
NUT
7
203-70-44360
PIN
8
07020-00000
FITTING,GREASE
9
202-70-48460
SPACER, 1.0MM
10
01019-11620
BOLT
11
01580-11613
NUT
|$13
203-70-00141
LINK ASS'Y
12
LINK
13
203-70-44330
BUSHING
14
203-70-33150
BUSHING
15
203-70-44230
SEAL,DUST
16
203-70-33210
SEAL,DUST
17
203-70-44370
PIN
18
07020-00000
FITTING,GREASE
19
203-70-24150
SPACER, 1.0MM
19
203-70-24160
SPACER, 2.0MM
20
01011-51640
BOLT
21
01580-11613
NUT
22
203-70-44380
PIN
23
203-70-44470
O-RING
Выбрано товаров: 0