Запчасти Komatsu PC200LC-3 КОВШ ДЛЯ ЗАЧИСТКИ ТРАНШЕЙ¤ .M (ДЛЯ FEET УДЛИНН. РУКОЯТЬ И СТРЕЛА) РАБОЧЕЕ ОБОРУДОВАНИЕ

Схема запчастей Komatsu PC200LC-3 - КОВШ ДЛЯ ЗАЧИСТКИ ТРАНШЕЙ¤ .M (ДЛЯ FEET УДЛИНН. РУКОЯТЬ И СТРЕЛА) РАБОЧЕЕ ОБОРУДОВАНИЕ
FIT
1:1
100%

Артикул

Название

Примечание

Количество

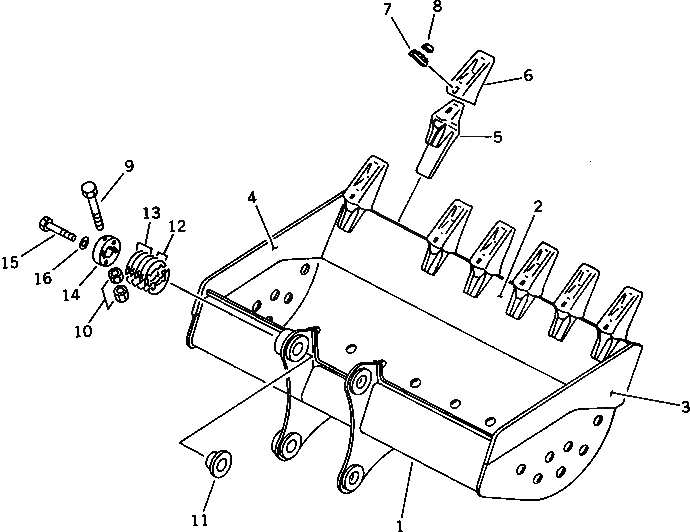
1

205-938-8310

BUCKET

2

205-938-8320

PLATE (WELDED)

3

205-938-8230

PLATE,L.H. (WELDED)

4

205-938-8240

PLATE,R.H. (WELDED)

5

203-70-43191

ADAPTER (WELDED)

6

203-70-43180

TOOTH

7

203-70-43210

PIN

8

203-70-43220

LOCK

9

01011-51670

BOLT

10

01580-11613

NUT

11

203-70-44452

SPACER

12

203-70-44460

SHIM, 0.5MM

13

203-70-44550

SHIM, 1.0MM

14

203-70-44441

PLATE

15

01010-51470

BOLT

16

01643-31445

WASHER

Выбрано товаров: 16