Запчасти Komatsu PC200LC-3 ЦИЛИНДР КОВША (ДЛЯ MAGIC РУКОЯТЬ) РАБОЧЕЕ ОБОРУДОВАНИЕ

Схема запчастей Komatsu PC200LC-3 - ЦИЛИНДР КОВША (ДЛЯ MAGIC РУКОЯТЬ) РАБОЧЕЕ ОБОРУДОВАНИЕ
FIT
1:1
100%

Артикул

Название

Примечание

Количество

|$0

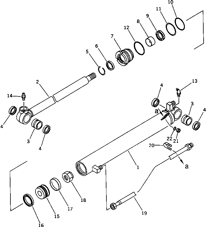
205-63-07020

CYLINDER ASS'Y

1

205-63-93340

CYLINDER

2

205-63-93320

ROD,PISTON

3

07144-10303

BUSHING

4

07145-00030

SEAL,DUST

5

07179-12047

RING,SNAP

6

07016-20357

SEAL,DUST

7

707-29-60290

HEAD,CYLINDER

8

07177-03525

BUSHING

9

707-51-35210

PACKING,ROD

10

07000-12055

O-RING

11

07001-02055

RING,BACK-UP

12

07000-12060

O-RING

13

07020-00675

FITTING,GREASE

14

07020-00000

FITTING,GREASE

15

707-36-60110

PISTON

16

07161-10060

RING,PISTON

17

707-39-60190

RING,WEAR

18

07165-12426

NUT

19

205-917-2210

TUBE

20

07283-21529

CLIP

21

01598-00809

NUT

22

01643-30823

WASHER

Выбрано товаров: 23