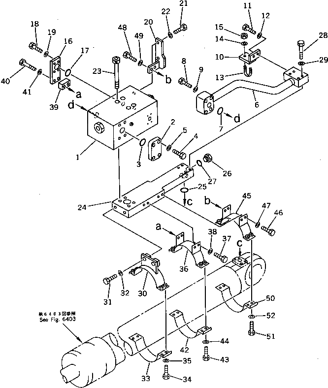
Запчасти Komatsu PC200LC-3 ЦИЛИНДР РУКОЯТИЗАКРЫВАЮЩИЙ КЛАПАН(REXROTH) (ДЛЯ НИЖН. ) (КРОМЕ ЯПОН.) ОПЦИОННЫЕ КОМПОНЕНТЫ

Схема запчастей Komatsu PC200LC-3 - ЦИЛИНДР РУКОЯТИЗАКРЫВАЮЩИЙ КЛАПАН(REXROTH) (ДЛЯ НИЖН. ) (КРОМЕ ЯПОН.) ОПЦИОННЫЕ КОМПОНЕНТЫ
FIT
1:1
100%

Артикул

Название

Примечание

Количество

1

208-60-33610

VALVE

2

206-62-43830

COVER

3

07000-13040

O-RING

4

01010-51650

BOLT

5

01643-31645

WASHER

6

206-62-43610

TUBE

7

07000-13045

O-RING

8

01010-51680

BOLT

9

01643-31645

WASHER

10

206-62-43740

BRACKET

11

01010-51025

BOLT

12

01643-31032

WASHER

13

07283-22738

CLIP

14

01643-31032

WASHER

15

01599-01011

NUT

16

206-62-43590

COVER

17

07000-13030

O-RING

18

01010-51025

BOLT

19

01643-31032

WASHER

20

206-62-43580

BRACKET

21

01010-51230

BOLT

22

01643-31232

WASHER

23

01252-41650

BOLT

24

206-62-43540

BLOCK

25

07000-13032

O-RING

26

206-62-43550

PLUG

27

07002-12434

O-RING

28

01011-51010

BOLT

29

01643-31032

WASHER

30

205-62-72950

BRACKET

31

01010-51650

BOLT

32

01643-31645

WASHER

33

206-62-43810

BRACKET

34

01010-51240

BOLT

35

01643-51232

WASHER

36

205-62-72970

BRACKET

37

01010-51225

BOLT

38

01643-31232

WASHER

39

206-62-43840

SPACER

40

01010-51265

BOLT

41

01643-31232

WASHER

42

206-62-43810

BRACKET

43

01010-51240

BOLT

44

01643-51232

WASHER

45

205-62-72970

BRACKET

46

01010-51225

BOLT

47

01643-31232

WASHER

48

01010-51235

BOLT

49

01643-31232

WASHER

50

206-62-43810

BRACKET

51

01010-51240

BOLT

52

01643-31232

WASHER

Выбрано товаров: 52