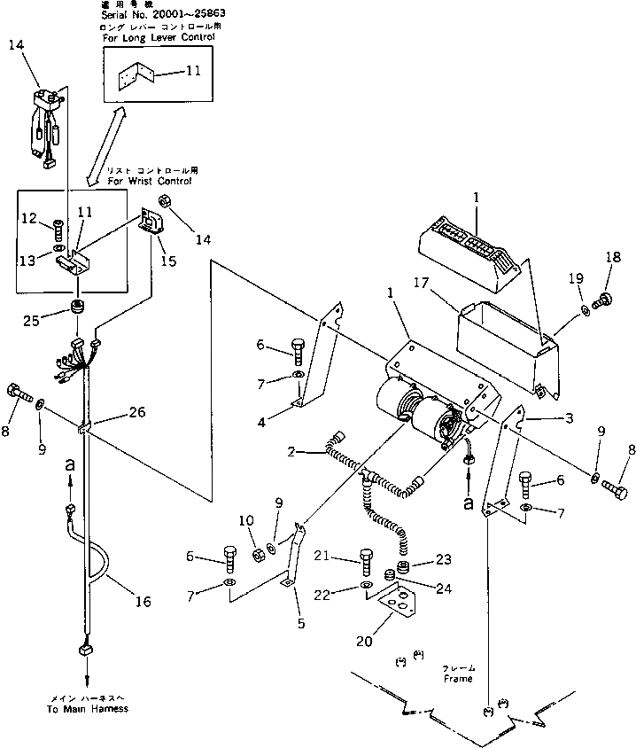
Запчасти Komatsu PC200LC-3 CAR ЛИНИЯ ОХЛАЖДЕНИЯ (/) ОПЦИОННЫЕ КОМПОНЕНТЫ

Схема запчастей Komatsu PC200LC-3 - CAR ЛИНИЯ ОХЛАЖДЕНИЯ (/) ОПЦИОННЫЕ КОМПОНЕНТЫ
FIT
1:1
100%

Артикул

Название

Примечание

Количество

1

205-981-5110

COOLING UNIT

2

205-981-5170

HOSE,DRAIN

3

207-978-3240

BRACKET,L.H.

4

207-978-3250

BRACKET,R.H.

5

205-978-7440

BRACKET

6

01010-51225

BOLT

7

01643-31232

WASHER

8

01010-50820

BOLT

9

01643-30823

WASHER

10

01580-00806

NUT

11

205-978-7310

BRACKET,(FOR LONG LEVER CONTROL)

11

205-978-7320

BRACKET,(FOR WRIST CONTROL)

12

01220-40616

SCREW,(FOR LONG LEVER CONTROL)

12

198-911-3430

SCREW,(FOR WRIST CONTROL)

13

01643-30623

WASHER,(FOR LONG LEVER CONTROL)

13

198-911-3160

WASHER,(FOR WRIST CONTROL)

14

205-981-5150

PANEL ASS'Y

15

205-981-5160

RELAY

16

205-978-7151

WIRE ASS'Y

17

205-978-7110

DUCT

18

01370-00414

SCREW

18

01370-00408

SCREW

19

01611-04045

WASHER

20

205-978-7122

PLATE

21

01010-51025

BOLT

22

01643-31032

WASHER

23

205-978-7140

GROMMET

24

205-06-62230

GROMMET

25

08037-02512

GROMMET,(FOR WRIST CONTROL)

26

08036-31210

CLIP,(FOR WRIST CONTROL)

Выбрано товаров: 0