Запчасти Komatsu PC200LC-3 ЭКСТРЕНН. ДВИГАТЕЛЬ СТОП УПРАВЛ-Е (REGULATION OF SWEDEN)(№9-) СПЕЦ. APPLICATION ЧАСТИ¤ МАРКИРОВКА¤ ИНСТРУМЕНТ И РЕМКОМПЛЕКТЫ

Схема запчастей Komatsu PC200LC-3 - ЭКСТРЕНН. ДВИГАТЕЛЬ СТОП УПРАВЛ-Е (REGULATION OF SWEDEN)(№9-) СПЕЦ. APPLICATION ЧАСТИ¤ МАРКИРОВКА¤ ИНСТРУМЕНТ И РЕМКОМПЛЕКТЫ
FIT
1:1
100%

Артикул

Название

Примечание

Количество

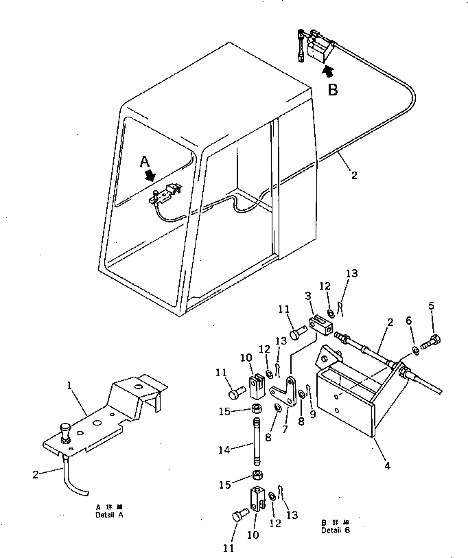
1

207-43-33190

COVER

2

205-43-74350

CABLE

3

573-54-29520

YOKE

4

205-43-74210

BRACKET

5

01010-51225

BOLT

6

01643-31232

WASHER

7

205-43-74340

LEVER

8

01643-31032

WASHER

9

04050-13020

PIN,COTTER

10

04211-20634

YOKE

11

04205-10620

PIN

12

01641-20608

WASHER

13

04050-11612

PIN,COTTER

14

04245-40610

ROD

14

04245-50610

ROD

15

01580-10605

NUT

Выбрано товаров: 16