Запчасти Komatsu PC200LC-3 УСИЛ. КОВШ¤ .79M ШИР. 89MM¤ С КРЮК (ДЛЯ США) СПЕЦ. APPLICATION ЧАСТИ¤ МАРКИРОВКА¤ ИНСТРУМЕНТ И РЕМКОМПЛЕКТЫ

Схема запчастей Komatsu PC200LC-3 - УСИЛ. КОВШ¤ .79M ШИР. 89MM¤ С КРЮК (ДЛЯ США) СПЕЦ. APPLICATION ЧАСТИ¤ МАРКИРОВКА¤ ИНСТРУМЕНТ И РЕМКОМПЛЕКТЫ
FIT
1:1
100%

Артикул

Название

Примечание

Количество

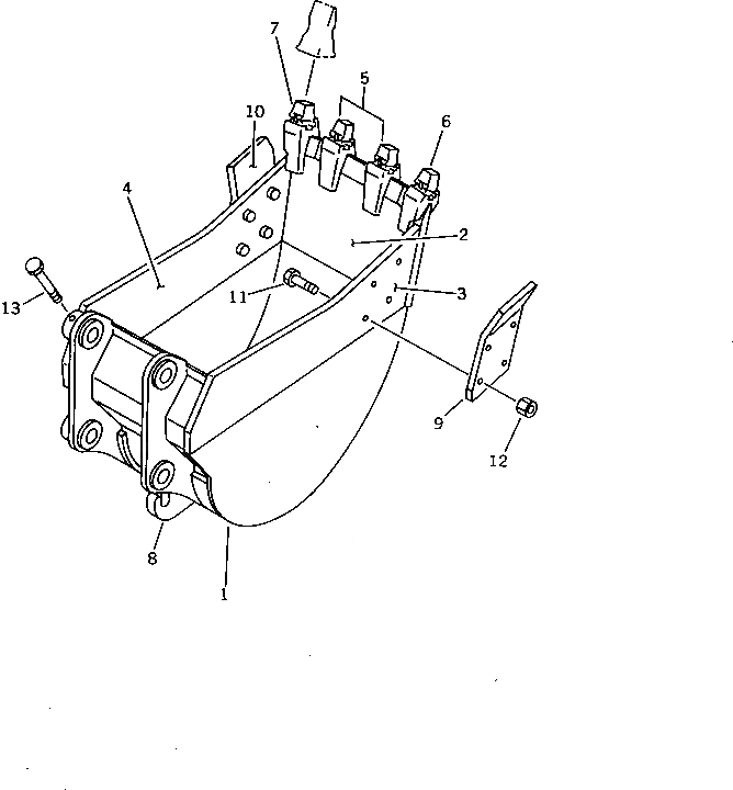
1

205-913-1310

BUCKET

2

205-913-1320

PLATE (WELDED)

3

205-913-1130

PLATE,L.H. (WELDED)

4

205-913-1140

PLATE,R.H. (WELDED)

5

205-913-1150

ADAPTER (WELDED)

6

205-913-1160

ADAPTER,L.H. (WELDED)

7

205-913-1170

ADAPTER,R.H. (WELDED)

8

205-913-1180

HOOK (WELDED)

9

205-70-74180

CUTTER,L.H.

10

205-70-74190

CUTTER,R.H.

11

176-32-11210

BOLT, SHOE

12

01803-02430

NUT

13

205-70-73190

BOLT

Выбрано товаров: 13