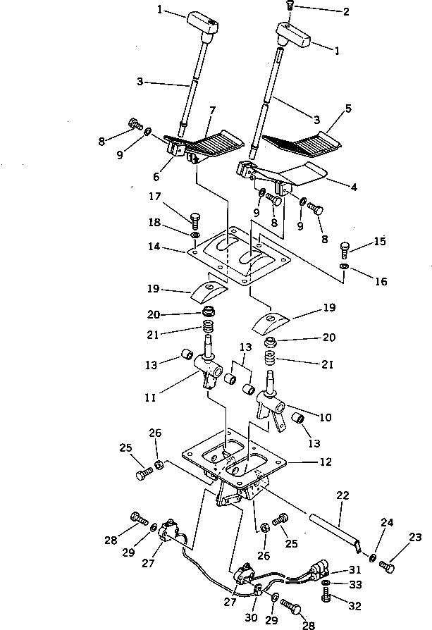
Запчасти Komatsu PC200LC-3 TRAVAL РЫЧАГ УПРАВЛ-Я И МЕХАНИЗМ (/) (ДЛЯ УДЛИНН. РЫЧАГ УПРАВЛ-Е) АВТОМ. ЗАМЕДЛЕНИЕ ОБОРОТОВ)(№-) ХОД И КОНЕЧНАЯ ПЕРЕДАЧА

Схема запчастей Komatsu PC200LC-3 - TRAVAL РЫЧАГ УПРАВЛ-Я И МЕХАНИЗМ (/) (ДЛЯ УДЛИНН. РЫЧАГ УПРАВЛ-Е) АВТОМ. ЗАМЕДЛЕНИЕ ОБОРОТОВ)(№-) ХОД И КОНЕЧНАЯ ПЕРЕДАЧА
FIT
1:1
100%

Артикул

Название

Примечание

Количество

1

203-43-41340

KNOB

2

207-09-11130

SCREW

3

205-43-71871

LEVER

4

205-43-71883

PEDAL,L.H.

5

205-43-71911

CAP,PEDAL

6

205-43-71893

PEDAL,R.H.

7

205-43-71911

CAP,PEDAL

8

01010-50825

BOLT

9

01643-30823

WASHER

10

205-43-71472

LEVER,L.H.

11

205-43-73270

LEVER,R.H.

12

205-43-71463

BRACKET

13

195-61-34130

BEARING

14

205-43-71590

COVER

15

01010-51016

BOLT

16

01643-31032

WASHER

17

01010-51235

BOLT

18

01643-31232

WASHER

19

20S-43-11230

COVER

20

203-43-41660

SPACER

21

09340-10130

SPRING

22

205-43-73280

SHAFT

23

01010-50616

BOLT

24

01643-30623

WASHER

25

01016-51040

BOLT

26

01580-11008

NUT

27

22W-06-15860

SWITCH

28

01010-51030

BOLT

29

01643-31032

WASHER

30

08036-10814

CLIP

31

195-06-41820

CLIP

31

08036-01814

CLIP

32

01010-51225

BOLT

33

01643-31232

WASHER

Выбрано товаров: 34