Запчасти Komatsu PC200LC-3 РЫЧАГ УПРАВЛ-Я ПОДАЧЕЙ ТОПЛИВА (ДЛЯ WRIST УПРАВЛ-Е) КОМПОНЕНТЫ ДВИГАТЕЛЯ И ЭЛЕКТРИКА

Схема запчастей Komatsu PC200LC-3 - РЫЧАГ УПРАВЛ-Я ПОДАЧЕЙ ТОПЛИВА (ДЛЯ WRIST УПРАВЛ-Е) КОМПОНЕНТЫ ДВИГАТЕЛЯ И ЭЛЕКТРИКА
FIT
1:1
100%

Артикул

Название

Примечание

Количество

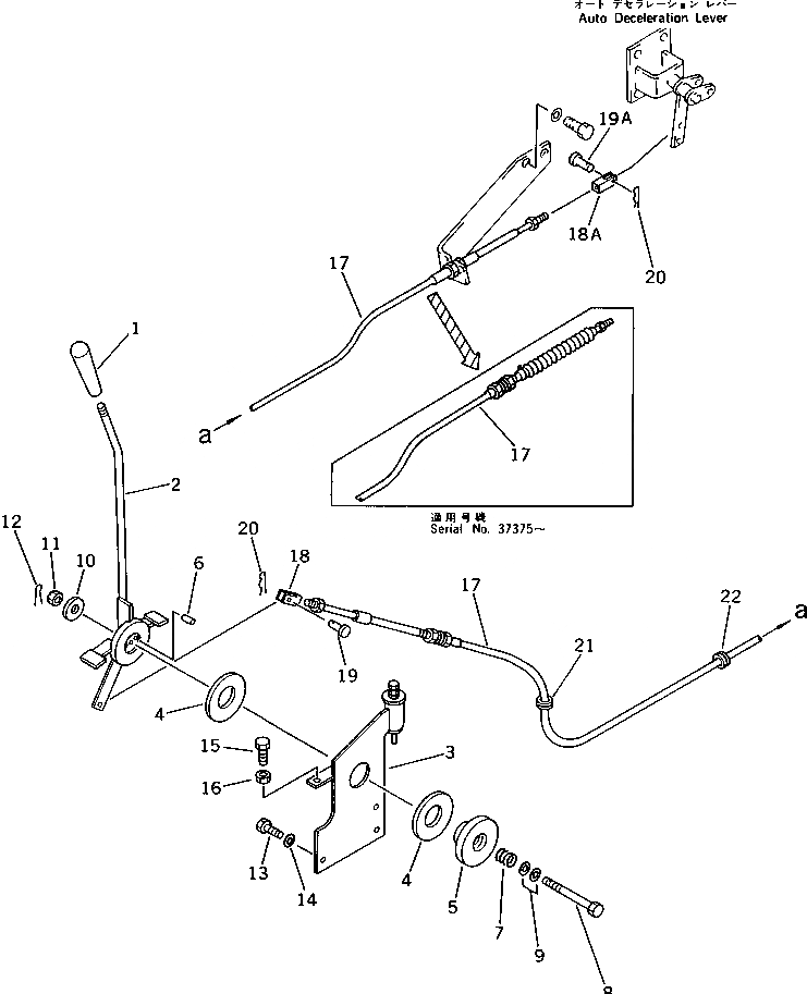
1

09304-01240

KNOB

2

205-43-73250

LEVER

3

205-43-73260

BRACKET

4

101-43-11281

FACING

5

201-43-22181

DISC

6

04020-00616

PIN,DOWEL

7

154-43-14690

SPRING

8

01052-51265

BOLT

9

01640-21223

WASHER

10

101-43-11380

COVER

11

01593-11210

NUT

12

04050-13030

PIN,COTTER

13

01010-51230

BOLT

14

01643-31232

WASHER

15

01016-51050

BOLT

16

01580-11008

NUT

17

205-43-71162

CABLE

17

205-43-71161

CABLE

18

04211-20634

YOKE

18A

201-43-11460

YOKE

18A

04211-20634

YOKE

19

04205-10618

PIN

19A

04205-10622

PIN

19A

04205-10618

PIN

20

04052-00633

PIN,SNAP

21

566-54-11340

GROMMET

22

08037-03620

GROMMET

Выбрано товаров: 27