Запчасти Komatsu PC200LC-5 ПЕРЕГОРОДКА (МОРОЗОУСТОЙЧИВ. СПЕЦИФ-Я) (№79-79¤89-) ЧАСТИ КОРПУСА

Схема запчастей Komatsu PC200LC-5 - ПЕРЕГОРОДКА (МОРОЗОУСТОЙЧИВ. СПЕЦИФ-Я) (№79-79¤89-) ЧАСТИ КОРПУСА
FIT
1:1
100%

Артикул

Название

Примечание

Количество

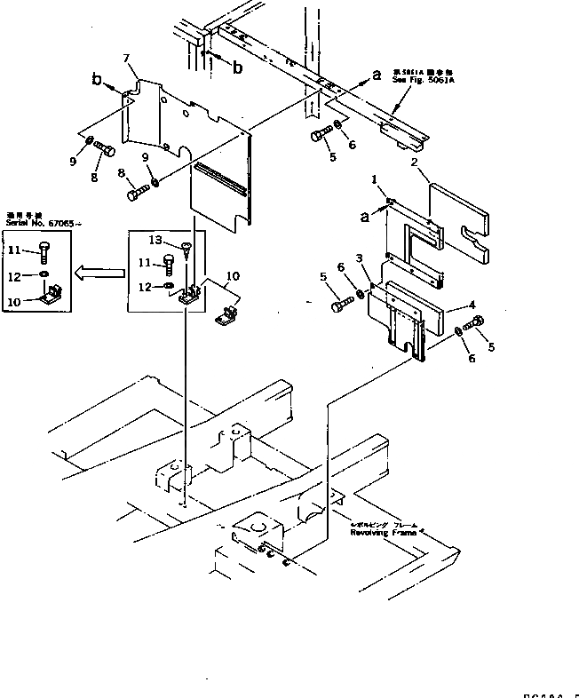
1

20Y-54-15851

COVER

2

20Y-54-17350

SHEET

3

20Y-54-19610

COVER

4

20Y-54-19620

SHEET

5

01010-51230

BOLT

6

20Y-54-12670

WASHER

7

20Y-54-21291

COVER

8

01010-51230

BOLT

9

20Y-54-12670

WASHER

10

20Y-54-12320

CATCH

11

01010-51230

BOLT

12

01643-31232

WASHER

13

01370-00512

SCREW

Выбрано товаров: 13